### **业务背景:**
根据制定的查验标准,查验方案(查验项,点位信息),生成查验任务
### **前提条件:**
操作员有**承接查验**菜单操作权限
**已制定承接查验标准以及承接查验方案(查验项,点位信息),才能生产承接查验任务**
## **一、生成查验任务信息:**
### **业务操作步骤:**
1.点击菜单:**物业管理 > 前介管理 > 承接查验**。
2.点击**生成查验任务**按钮

3.选择需要生成承接查验任务的项目,点击保存按钮。

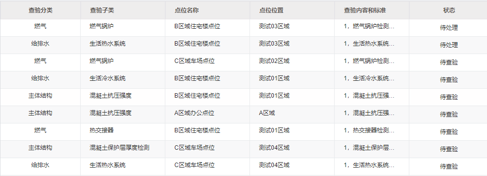
4.任务生成结果如下

## **二、在APP上承接查验:**
1. 登录物管APP,选择菜单:**工作 > 承接查验**。
2. 选择待查验的项目,录入查验结果。

## **三、查看查验报告信息:**
### **业务操作步骤:**
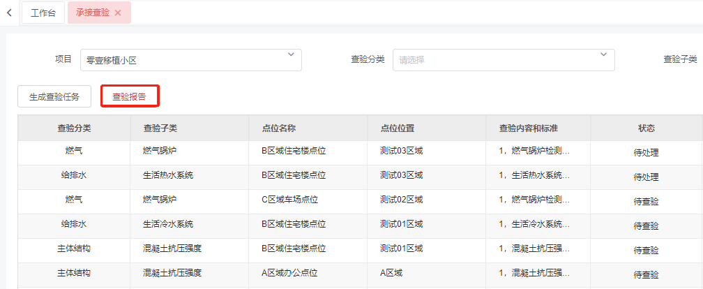
1.点击菜单:**物业管理 > 前介管理 > 承接查验**。
2.点击查验报告按钮

3.进入查验报告详情

- 更新日志
- 往年更新
- 202101版本更新
- 202102版本更新
- 202103版本更新
- 202104版本更新
- 202105版本更新
- 202106版本更新
- 202109版本更新
- 202112版本更新
- 202201版本更新
- 202202版本更新
- 202203版本更新
- 202204版本更新
- 202205版本更新
- 202206版本更新
- 202206-2版本更新
- 202207版本更新
- 202207-2版本更新
- 202208版本更新
- 202208-2版本更新
- 202208-3版本更新
- 202209版本更新
- 202210版本更新
- 202210-2版本更新
- 202211版本更新
- 202212版本更新
- 202303版本更新
- 202304版本更新
- 202305版本更新
- 202306版本更新
- 202306-2版本更新
- 202307版本更新
- 202308版本更新
- 202309版本更新
- 202310版本更新
- 物业后台
- 项目数据初始化
- 收银台
- 整体介绍
- 收银台入口
- 生成费用
- 设置缴费人
- 计费(生成周期费)
- 添加临时应收
- 调整费用
- 单个调账(调整金额大小)
- 费用拆分转移(调整费用期或缴费人)
- 收取房产的各种费用
- 收取费用
- 预缴费用
- 收取业主的临时费用
- 收取业主其他房产费用
- 作废票据(费用原路退回或转存)
- 退费申请发起及退费
- 退物业费
- 退收取的押金费用
- 退装修费用
- 撤销退费申请
- 红字冲抵
- 账户充值
- 物业管理
- 视图管理
- 项目视图
- 公司视图
- 项目数据驾驶舱
- 企业数据驾驶舱
- 档案管理
- 项目档案
- 楼栋房产
- 修改房产缴费人为“项目甲方”
- 客户管理
- 空间管理
- 房屋变更记录
- 房屋拆合
- 房屋档案报表
- 客户服务
- 房产服务
- 装修巡查项
- 装修巡查方案
- 装修管理
- 装修任务
- 记录装修巡查信息
- 将装修任务委派给他人
- 业主服务
- 客服中心
- 新增服务
- 派工
- 挂起
- 完成
- 无效关闭
- 回访
- 责任认定
- 服务管理
- 钥匙管理
- 业主认证审核
- 通知公告
- 出入管理
- 物品放行
- 小区便条
- 投票表决
- 新增投票
- 完成投票并查看结果
- 线下录入投票
- 服务配置
- 规则配置
- 客户关怀
- 关怀类型配置
- 客户关怀.
- 前介管理
- 承接查验
- 承接查验标准
- 承接查验方案
- 承接查验
- 承接查验问题
- 预验房
- 预验房方案
- 预验房
- 预验房问题管理
- 资料管理
- 资料定义
- 资料管理
- 物业收费
- 费用配置
- 费用科目定义
- 费用定价发布
- 优惠活动管理
- 优惠券管理
- 设施设备定义(总部)
- 收款账号配置
- 费用收取
- 收据管理
- 批量打印
- 退费管理
- 批量调账
- 调账记录
- 收银台
- 催缴核账
- 费用催缴
- 收费核账
- 甲方结算
- 空置房结算
- 甲方抵用券结算
- 甲方减免结算
- 结算历史
- 空置房管理
- 公共收益
- 收益分配规则
- 收益明细
- 收益统计
- 发票管理
- 发票配置
- 开票管理
- 滞纳金管理
- 滞纳金配置
- 滞纳金管理
- 计算日志
- 安防管理
- 安防管理
- 消防设备定义(总部)
- 消防设备位置定义
- 消防设备台账
- 消防作业标准
- 消防巡查计划
- 消防巡查任务
- 消防设备问题
- 巡更管理
- 巡更位置定义
- 巡更点设置
- 巡更线路
- 巡更任务
- 巡更问题
- 点位巡查明细
- 工程管理
- 设施设备
- 维保单位管理
- 设施设备定义(总部)
- 设备位置定义
- 设备作业标准
- 设施设备台账
- 设备作业计划
- 设备作业任务
- 设施设备问题
- 能耗管理
- 公共抄表(老版本)
- 业主抄表(老版本)
- 能耗管理(新版本)
- 公共台账
- 业主台账
- 如何进行能源费用定价(水,电,燃气,空调)
- 公共抄表
- 入户抄表
- 抄表核对
- 远程抄表
- 远程充值
- 能耗分摊
- 分摊规则
- 确定分摊规则
- 总用量平摊
- 总金额平摊
- 固定金额
- 总用量差额平摊
- .能耗分摊
- 分摊明细
- 工卡管理
- 移动工卡
- 轨迹记录
- 品质管理
- 风险管理
- 消息推送配置
- 突发事件
- 品质检查
- 品质巡查标准
- 周期巡查
- 周期巡查计划
- 周期巡查任务
- 在APP执行周期巡查任务
- 专项巡查
- 专项巡查计划
- 专项巡查任务
- 在APP执行专项巡查任务
- 品质巡查问题
- 录入问题
- 问题处理
- 满意度调查
- 满意度问卷模板
- 满意度调查
- 满意度调查报告
- 责任认定
- 责任认定
- 责任明细
- 费用报表
- 应收报表
- 项目应收统计
- 业主应缴统计
- 项目应收月统计
- 业主应缴月统计
- 凭据统计
- 凭据汇总
- 日开票统计
- 开票人统计
- 凭据明细
- 费用明细
- 支付方式明细
- 欠费统计
- 项目欠费统计
- 业主欠费统计
- 项目欠费月统计
- 业主欠费月统计
- 账龄分析
- 欠费明细
- 收费统计
- 项目收费统计
- 业主缴费统计
- 支付方式统计
- 项目收费月统计
- 业主缴费月统计
- 减免统计
- 减免明细
- 减免汇总
- 项目减免统计
- 其他统计
- 退费统计
- 优惠统计
- 账户统计
- 项目应实收月统计
- 业务报表
- 客服管理报表
- 服务分类统计
- 服务综合统计
- 安防管理报表
- 巡更任务统计
- 巡更人统计
- 消防设备数量统计
- 消防巡检任务统计
- 消防巡检人统计
- 工程管理报表
- 能源损耗统计
- 能源用途统计
- 设备数量统计
- 巡检/维保任务统计
- 巡检/维保人统计
- 突发事件报表
- 突发事件统计
- 品质管理
- 巡查方案统计
- 巡查业务统计
- 巡查人统计
- 责任认定统计
- 责任方统计
- 责任人统计
- 精彩社区
- 帖子举报
- 帖子审核
- OA办公
- 人事管理
- 人事业务
- 人事业务
- 入职
- 离职
- 请假
- 销假
- 人事变动
- 外出
- 出差
- 补签
- 加班
- 考勤管理
- 考勤规则配置
- 班次设置
- 考勤组设置
- 考勤明细
- 打卡记录
- 考勤统计
- 假期管理
- 绩效管理
- 绩效考核标准
- 绩效考核
- 在线考试
- 题目管理
- 试卷模板
- 在线考试.
- 知识库
- 薪资管理
- 薪资档案
- 参保档案
- 参保账单
- 工资条定义
- 工资计算
- 工资条
- 行政管理
- 通知呈文
- 行政通知模板
- 行政通知
- 行政呈文
- 文档管理
- 印章管理
- 单个/批量入库印章
- 使用印章
- 费用支付
- 付款申请
- 借支申请
- 费用报销
- OA审批
- 业务管理
- 业务办理
- 合同管理
- 合同定义
- 合同类型定义
- 合同费用项定义
- 合同管理.
- 新增合同
- 变更合同
- 续约合同
- 归档/历史归档合同
- 费用管理
- 合同收款
- 合同付款
- 物资管理
- 供应商管理
- 供应商收录
- 仓库管理
- 仓库定义
- 物资定义
- 仓储管理
- 采购管理
- 物资采购
- 预算管理
- 收支科目
- 年度预算
- 月度预算
- 财务收支
- OA业务报表
- 合同管理报表
- 合同应付统计
- 合同应付明细
- 合同付款流水
- 合同付款统计
- 合同应收统计
- 合同应收明细
- 合同收费流水
- 合同实收统计
- 物资管理报表
- 仓库物资统计
- 仓库出入库明细
- 仓库出入月统计
- 车行管理
- 不对接外部车场
- 车场档案
- 月租标准
- 月租办理
- 访客通行
- 产权登记
- 对接零壹车场
- 车场档案
- 月租标准
- 月租办理
- 访客通行
- 产权登记
- 车辆入场明细
- 临停缴费明细
- 车辆出场明细
- 对接超级黑盒车场
- 车场档案
- 月租标准
- 月租办理
- 出租
- 续租
- 修改客户信息
- 退租
- 访客通行
- 黑名单车辆
- 产权登记
- 车辆入场明细
- 临停缴费明细
- 车辆出场明细
- 跳转到超级黑盒平台
- 车辆档案
- 车位档案
- 黑名单车辆
- 车场费用统计(预研)
- 车场费用明细(预研)
- 人行管理
- 档案管理
- 通道管理
- 人行管理
- 人脸授权
- 门禁发卡
- 访客通行
- 远程开门
- 通行记录
- 系统管理
- 组织人员
- 部门管理
- 岗位管理
- 人员管理
- 职级管理
- 黑名单管理
- 第三方公司
- 系统管理.
- 流程定义(绘制)
- 配置流程节点审批人
- 批量导入
- 批量导入客户数据
- 批量导入房产数据
- 批量导入员工信息
- 批量导入缴费台账
- 批量导入欠费台账
- 批量导入车位缴费台账
- 批量导入车位欠费台账
- 日志查询
- 项目参数
- 人行子系统
- 车行子系统
- 物业子系统
- 客服
- 财务
- 品质
- 安防
- 工程
- 服务等级
- 节假日配置
- 支付管理
- 审批工单
- 审批工单统计
- 审批节点统计
- 公众号二维码管理
- 广告发布
- 定时任务管理
- 任务配置
- 任务执行
- 任务历史
- 消息管理
- 短信管理
- 群发消息
- 应用管理
- 票据打印常见问题
- 如何安装打印控件
- 如何配置针式打印机
- 票据打印不出来
- 票据打印失败解决方案
- 映美FP 530K+打印机无法获取自定义纸张
- EPSON 630/730针式打印机如何设置共享
- 爱普生部分型号打印机失效问题
- 打印纸设置:整张、二等份、三等份、四等份
- 关于谷歌Chrome浏览器94版跨域问题的解决方案
- 跳转到零壹1.0的物业云平台
- 主数据+NC数据对接
- 物业APP
- 物资管理
- 物资入库
- 物资领用
- 物资统计
- 入库明细
- 出库明细
- 出入库月统计
- 物资盘点盈亏
