[TOC]
*****
# 企业朋友圈
## 功能入口
* 路径:【连接管理】> 【企业微信】> 【企业朋友圈】


## 企业朋友圈列表
* 列表说明:
1. 默认展示最近两周的企业朋友圈数据,包含朋友圈内容、创建人、创建时间等。
2. 支持选择一个时间区间查看朋友圈数据(无区间范围限制)

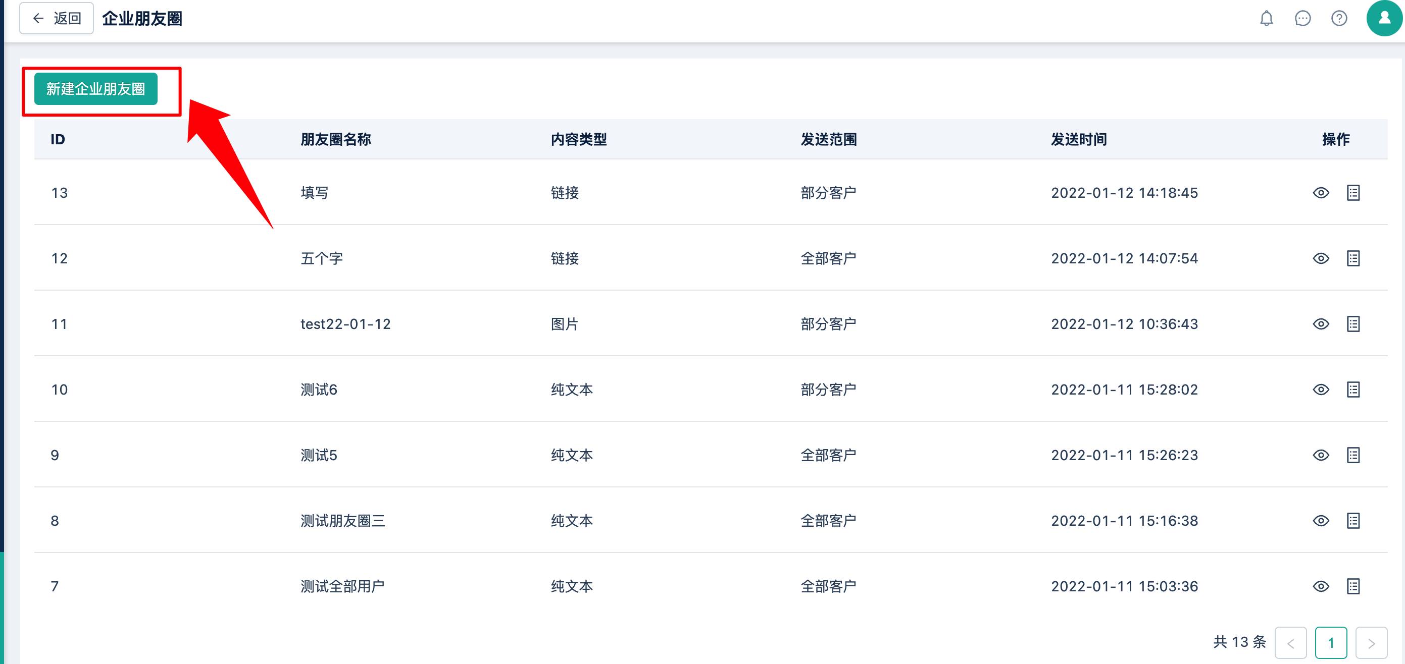
## 新建企业朋友圈(尚未上线,预计2201R1迭代上线)
系统支持新建企业朋友圈,选择可见的客户,成员确认后,可将内容发表到客户的朋友圈。
1、入口:企业朋友圈→新建企业朋友圈

2、在新建企业朋友圈页面,按照条件筛选需发送的客户,编辑内容后点击发布,企业朋友圈发表任务即创建成功。
发送范围:可选择全部客户,也可按照添加人和企业标签筛选可见该条朋友圈的客户。
朋友圈内容:可发表纯文本、图片、视频、链接的朋友圈类型,其中图片类型的朋友圈可上传9张图片。

3、发布朋友圈任务后,添加可见该条朋友圈客户的员工在企微客户端即可收到确认发表的任务通知,点击发表即可。
注意:若客户添加了两位企业员工,且员工均在创建朋友圈添加人的筛选条件内,则该两位员工都会收到确认发表的任务通知,且均可点击发表,但客户只会看到最先点击发表员工的朋友圈。


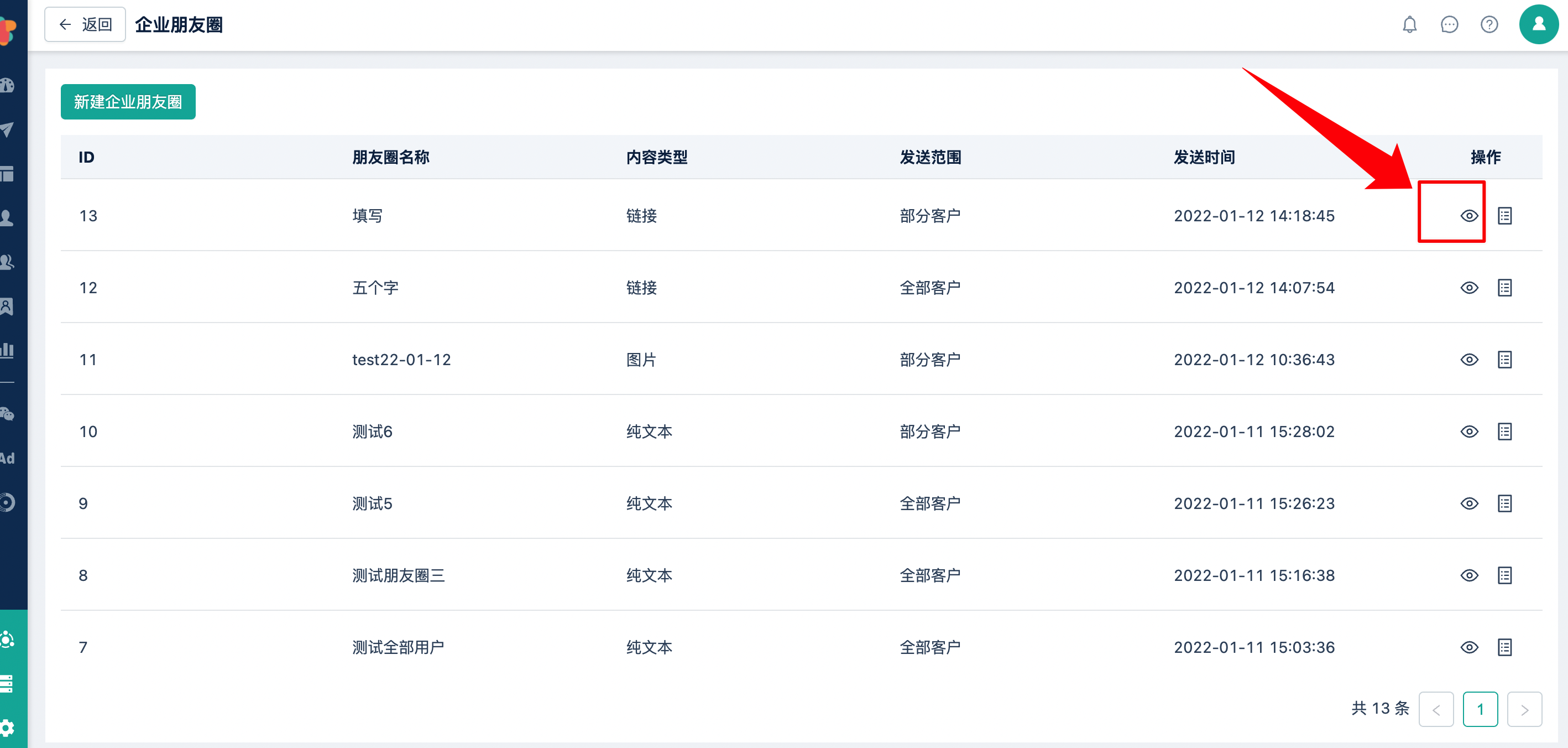
4、已发布的朋友圈,也可点击“查看内容“查看朋友圈的发送范围和内容。


## 成员发布详情
系统可查看企业成员在企微客户端内点击发送朋友圈任务的情况,可更清晰的了解发送朋友圈的执行效果。
1、入口:企业朋友圈列表→操作→点击发布详情。

2、支持按组织架构查看/按员工查看。
### 按组织架构查看
以企业部门为维度,查看每个部门内成员的任务执行情况。只会显示有发送朋友圈任务的成员所在的部门。
注意:
* 成员可能在企业的多个部门内,但是在该处,某个成员的数据只会归于该成员所属的主部门。
* 每个部门的已发布/未发布/总计的数据均是该部门内成员的发送数据和该部门下所有子部门内成员的数据之和。

### 按员工查看
以企业员工为维度,查看每个员工的任务执行情况。只会显示有发送朋友圈任务的成员。
发布状态可进行筛选已发布/未发布。

### 发布详情同步时间
同步企业朋友圈的发布详情数据有两种方式:
1、自动同步:系统会每天凌晨自动同步7天内发送的朋友圈的发布详情数据。
2、手动同步:若要看实时的发布详情数据,可手动点击“同步“按钮,待同步完成后,可看到最新的数据。
用户可根据显示的“上次同步时间“来判断数据是否为最新的。
**注意:**
* 如果当天企业微信组织架构有人事变动,并且您想查看人事变动后的最新的发送成员详情数据:需要先手动点击同步成员和主部门按钮,再在企业朋友圈处点击发送成员详情表中的同步按钮,以此获取最新数据。
* 系统每天凌晨也会自动更新成员和其主部门数据。

## 在哪里创建企业朋友圈?企业朋友圈怎么用?
详情请看【Linkflow】官方公众号场景文章[《个人朋友圈时代过去了,企业微信朋友圈开辟营销新思路》](https://mp.weixin.qq.com/s?__biz=MzU0MzAwNDcxNw==&mid=2247487872&idx=1&sn=93691376e804d77ea2ae44cd8d0c9b8e&chksm=fb1350c2cc64d9d43d3507a46ce2d75200bdf3de84abda7ed802071c7279323e4d90b40d57b8&mpshare=1&scene=1&srcid=0716AMwCIKN5XTSyZOdg56cF&sharer_sharetime=1626412257597&sharer_shareid=4b69adb44966e9281c904b6cd9fb3cef&version=3.1.8.3015&platform=win#rd)
- 首页
- 重置密码操作
- 首页情况介绍
- Linkflow浏览器要求
- 仪表盘
- 客户旅程
- 什么是客户旅程?
- 如何使用客户旅程
- 如何创建客户旅程
- 如何停止&删除客户旅程
- 如何重新编辑客户旅程
- 如何将客户旅程添加到目录
- 设置客户旅程
- 如何设置客户旅程转化目标
- 客户旅程模板说明
- 如何创建客户旅程模板
- 选择已有客户旅程模板
- 使用场景说明
- 使用逻辑说明
- 触发条件
- 定时触发条件
- 网页追踪
- 属性变更
- 执行动作
- 加入群组
- 移出群组
- 改变分数
- 延时器
- 变更属性
- A/B分配
- 终止旅程
- webhook
- 内部通知
- 条件分支
- 属性判断器
- 群组判断器
- 事件判断器
- 微信判断器(已下架)
- 时间判断器
- 企微判断器
- 管理客户旅程目录
- 所有用户
- 追踪用户与匿名访客
- 用户分组
- 用户列表
- 用户的创建、查重与合并
- 用户导出和导入
- 用户导出
- 用户导入
- 导出OpenID、UnionID
- 用户查看
- 批量编辑用户
- 互斥组(未上线)
- 用户属性
- 动态日期
- 年龄
- 用户识别
- 用户群组
- 动态标签组
- 静态标签组
- 前置标签组(微信公众号当前粉丝)
- 群组目录
- 用户标签【beta】
- 广告追踪
- 广告模块介绍
- 渠道分析
- 广告平台分析
- 广告时域分析
- 广告地域分析
- SEM广告分析
- 广告计划分析
- 广告单元分析
- 广告创意分析
- 广告关键词分析
- IP分析
- 一键生成通配符URL
- 关键词属性分析
- 广告设备分析
- 信息流广告分析
- 广告计划分析(信息流)
- 广告组分析
- 广告分析
- 广告组属性
- 返点
- 转化目标介绍
- 微信营销(对接公众号才会有此功能模块)
- 触达
- 群发
- 模板消息通知
- 订阅通知
- 二维码管理
- 带参二维码(原为普通二维码)
- 二维码创建路径
- 如何查找带参二维码
- 永久与临时二维码创建
- 带参二维码在触发条件中使用
- 带参二维码在执行条件中使用
- 扫码后回复、加组
- 批量创建/导出二维码
- 二维码分组管理
- 一人一码
- 如何使用一人一码
- 一人一码分组管理
- 基础设置
- 菜单管理
- 卡券管理
- 微信卡券管理
- 微信卡券功能申请条件
- 微信卡券功能开通
- 微信卡券使用
- 微信卡券核销方法
- 图⽂素材
- 菜单会话
- 给动态组用户打微信标签
- 微信分析
- 微信报表明细
- 图文分析
- 统计分析
- 分享转发分析
- 微信用户分析
- 粉丝数分析
- 报表分析
- 事件分析
- 什么是事件分析
- 公共筛选条件
- 如何创建事件分析
- 属性筛选条件说明
- 事件分析报表相关名字解释
- 支持图表
- 漏斗分析
- 用户分析
- 支持图表
- 用户画像
- 群体分析(此功能已下架)
- 时域分析
- 地域分析
- 分布分析【beta】
- 留存分析【beta】
- 路径分析【beta】
- 归因分析【beta】
- 报表管理
- 报表分析临时群组
- 连接管理
- 语音直播
- 千聊
- 千聊与Linkflow对接和设置
- 千聊常见问题
- 客户关系管理(salesforce、爱客/励销、纷享销客)
- 爱客/励销CRM
- 爱客/励销CRM连接和设置
- 爱客/励销-执行动作
- 纷享销客
- 纷享销客连接和设置
- 纷享销客-执行动作
- Salesforce
- Salesforce连接和设置
- Salesforce-执行动作
- 社交媒体(微信公众号、小程序&抖音)
- 微信公众号
- 微信公众号与Linkflow对接
- 同步微信公众号标签
- 批量为用户打标签
- 微信消息通知
- 微信客服会话管理
- Linkflow调用公众号接口列表
- 话题标签
- 微信执行条件
- 发送文本
- 发送图片
- 发送模板消息
- 发送H5
- 发送微信图文
- 发送微信语音
- 发送一人一码
- 发送小程序
- 发送卡券
- 发送微信视频
- 发送菜单会话
- 触发条件-微信
- 关注微信公众号粉丝的来源显示(对接前与对接后关注)
- 删除微信GDPR数据
- 微信开放平台
- 微信开放平台申请
- 微信开放平台认证
- 绑定微信公众号
- 绑定小程序
- 开放平台如何创建第三方平台
- 微信小程序
- 小程序与Linkflow对接
- Linkflow如何与小程序对接
- 小程序绑定公众号
- 小程序SDK接入指南
- 小程序触发条件&事件
- 管理小程序页面
- 扫码打开小程序接入指南
- 同步连接用户
- 批量为用户打标签
- 预置仪表盘
- 微信小程序FAQ
- 小程序相关问题
- 小程序模板消息设置
- 什么是微信小程序
- 公众号快速注册并认证小程序
- 小程序权限集
- 微信公众号申请&认证
- 微信公众号申请
- 微信公众号认证
- 抖音
- 抖音与Linkflow对接
- Webhooks请求网址URL设置
- 重新获取抖音企业号意向用户
- 抖音客户旅程触发条件
- 抖音客户旅程执行动作
- 抖音企业号认证
- 抖音常见问题
- 微博
- 微博与Linkflow的对接
- 微博授权短链接
- 设置消息回调
- 电子商务Saas
- 抖店
- 抖店与Linkflow对接
- 配置事件消息推送地址
- 抖店分析与营销
- 邮件服务
- WebPower
- WebPower与Linkflow连接
- 发送Webpower邮件
- SendCloud
- SendCloud连接和设置
- Sendcloud域名追踪
- webhook设置
- SendCloud-执行动作
- Sendcloud价格相关
- Sendcloud FAQ
- 有赞
- 有赞与Linkflow对接
- 有赞触发条件
- 微盟
- 微盟与Linkflow对接
- 微盟-触发条件(触发事件)
- 用户行为记录高级功能
- 短信服务(云片网&腾讯短信)
- 云片网
- 云片网连接和设置
- 申请短信签名&模板
- 云片网-执行动作
- 短信回复和退订
- 短信跳转小程序
- 短信推送状态报告设置
- 超级短信开通及使用
- 超级短信开通
- 如何使用超级短信
- 超级短信状态报告
- 云片网短链
- 腾讯短信
- 腾讯短信连接与设置
- 腾讯短信-执行动作
- 协同办公(企业微信、钉钉)
- 企业微信
- Linkflow与企业微信对接
- 企业微信连接和设置
- 设置客户联系接收事件服务器
- 同步成员数据
- 同步客户数据
- 聊天工具栏
- 群发客户消息
- 企业朋友圈
- 企业微信如何关联小程序
- 新客户欢迎语
- 「联系我」二维码
- 如何在Linkflow中获取企业微信相关数据
- 企业微信事件分析
- 客户旅程-企业微信
- 触发条件
- 执行动作
- 钉钉
- 钉钉连接和设置
- 钉钉-执行动作
- 钉钉-触发条件
- 视频会议直播
- 微吼
- 微吼连接和设置
- 微吼-触发条件
- 微吼-执行动作
- 目睹直播
- 目睹连接和设置
- 目睹触发条件
- 目睹事件分析
- 小鹅通(尚未上线)
- 小鹅通连接和设置
- 小鹅通-触发条件
- 小鹅通-直播短链接
- 广告投放
- 今日头条推广
- 微信广告
- 微信广告与Linkflow对接
- 获取微信朋友圈广告填单线索
- 神马推广
- 360推广
- 360推广与Linkflow的连接和设置
- 360广告API接口
- 搜狗推广
- 搜狗推广与Linkflow的对接和设置
- 百度推广
- 百度推广与Linkflow的对接和设置
- OneDesk(尚未上线)
- 表单数据
- 金数据
- 金数据连接和设置
- 金数据-触发条件
- 金数据表单映射以及相关功能
- 金数据如何绑定微信公众号
- 如何映射金数据表单
- 金数据扩展属性的使用
- 金数据表单推广功能
- 金数据相关应用场景
- 问卷星
- 问卷星连接和设置
- 问卷星-触发条件
- 问卷网
- 问卷网连接和设置
- 问卷网-触发条件
- 问卷网价格
- CMS(待上线)
- 如何在linkflow里面连接和设置CMS
- CMS表单映射
- CMS如何绑定微信公众号
- CMS设置数据推送
- 如何映射CMS中的表单
- 收钱吧(尚未上线)
- 收钱吧与Linkflow对接
- 收钱吧触发条件
- 驿氪
- 驿氪执行动作
- 同步连接用户
- 创蓝253(目前不对外开放)
- 句子互动(尚未上线)
- 悠易互通Yoyi(尚未上线)
- 内容素材
- 易企秀
- 易企秀内容中台与Linkflow对接
- 企微运营
- 微伴助手
- Linkflow与微伴助手对接
- 导出用户到微伴
- AI外呼_一知智能
- AI外呼_一知智能连接和设置
- AI外呼_一知智能-执行动作
- 元数据管理
- 用户属性
- 事件元数据
- 事件属性
- 自定义图元(所有自定义渠道的自定义图元)
- 虚拟事件
- 字典表
- 设置
- 网站追踪
- 短链接
- 短链接管理
- 短链接分组管理
- 批量创建/导出短链接
- App集成设置
- 私有App设置
- SFTP站点设置
- 授权设置
- 功能新增
- 我的账号
- 使用情况
- 通知中心
- 高级设置
- 员工
- 管理员工所属部门(暂不对外开放)
- 如何创建员工(含多因素验证)
- 角色
- 用户字段加密
- 操作日志
- JS SDK接入
- 网页埋点说明
- 微信表单页面埋点说明
- 微信网页分享裂变
- 自定义连接
- 如何在Linkflow连接和设置自定义渠道
- 如何修改自定义渠道的图标
- 自定义图元
- 自定义事件(事件元数据)
- IOS移动应用接入
- Android移动应用接入
- 同步连接用户
- 同步连接事件
- 删除用户数据
- Linkflow对接指南
- 账号信息
- 工单
- 常见问题
- 微信常见问题
- 微信公众平台服务号、订阅号、企业号的功能区别
- 模板消息是否支持英文版本
- 扫码签到后却发送两个签到通知消息
- 公众号模板消息
- 微信公众号发布了的文章如何删除
- 什么行为算是48小时内的活动,从而能够用客服消息触达
- 公众号提示:该公众号提供的服务出现故障,请稍后再试
- 在开放平台绑定公众号/小程序数量相关问题
- 同一个主体最多可以申请多少个微信公众号
- 留言功能
- 有多个微信公众号,客户身份如何合并?
- 公众号接口调整【关注公众号后无法获取用户昵称、头像】
- 问卷网常见问题
- 金数据常见问题
- 企业微信FAQ
- 微吼常见问题
- 系统登录问题
- 版本更新说明
- Linkflow以往的版本
- 2110 R1 版本更新说明
- 2111 R1 版本更新说明
- 2112 R1 版本更新说明
- 2201 R1 版本更新说明
- 联系客服在线咨询
- 广告运营分析(尚未上线)
