[TOC]
*****
# 微信分析
## 一、微信分析定义
* 【微信分析】可以帮助市场经理或运营经理,了解群发的每篇的阅读人数、阅读次数、收藏人数、收藏次数以及在各个渠道(例,朋友圈、好友会话等)的阅读数等多个指标维度的阅读情况。
* 路径:【报表分析】-【微信分析】


* **注:根据微信规则,图文分析的数据最多显示为7天的数据!!**
* **如:选择的时间是5月1日-5月31日(一个月)**,其中一篇图文发送时间:5月31日,那么此处的文章打开率、发送人数、送达人数等的数据为7天的数据:5月31日~6月6日(共7日)

**如:选择的时间为5月18日-5月18日(1天)**,那么会显示当天推送的图文消息,但是此推文的文章打开率、发送人数、送达人数等的数据为7天的数据,5月18日~5月24日,如下图:


**注:文章打开率可能会超过100%**,因为同一个粉丝,可能会多次打开此图文,所以文章打开率会出现超过100%的情况。
*****
## 二、微信分析包含哪些分析
### **图文分析**
* **根据微信规则,图文分析的数据最多显示为7天的数据!**
【微信分析】可以帮助市场经理或运营经理,了解群发的每篇的阅读人数、阅读次数、收藏人数、收藏次数等多个指标维度的阅读情况。
当且仅当发送图文时通过菜单“微信营销” -》 “触达” -》 “群发” -》 “新建群发” -》 “群发对象” -》 “按微信标签选择”时,能关联并显示“推送标签组”和“推送时间”;“全部用户”或“按标签组选择”时会通过微信openid单个发送,无法关联。

* msg_index:图文的位置顺序
* msgid:图文本身的Id
#### **Linkflow的图文分析的定义**
* 基于微信已有的每次推送,每篇图文的阅读人数、阅读次数,结合展示并结合[Linkflow](https://app.linkflowtech.com/login)的微信群发功能,展示每篇图文推送的标签组、推送时间,计算文章打开率,并获取微信后台的图文评论数,通过多指标数据,更好的了解每次发送的图文的阅读质量。

### **统计分析**
* 【统计分析】是统计在每个时间段内不同渠道的阅读人数等指标数据。
更好的分析,文章的时域数据,选择最佳的文章推送时间,达到更好的传播效果。

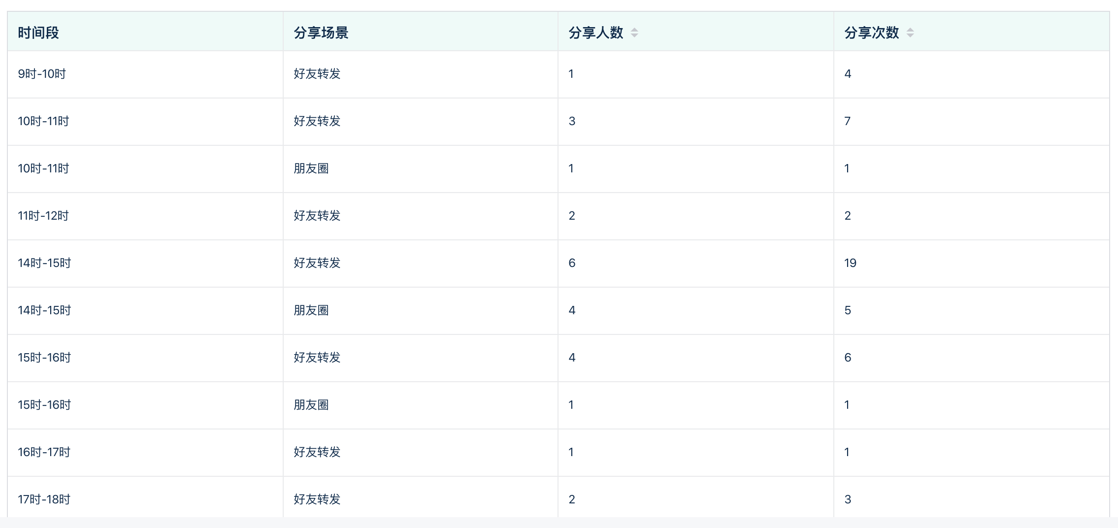
### **分享转发分析**
* 【分享转发分析】是统计在每个时间段内,每个场景的转发人数和转发次数。

### **用户分析**
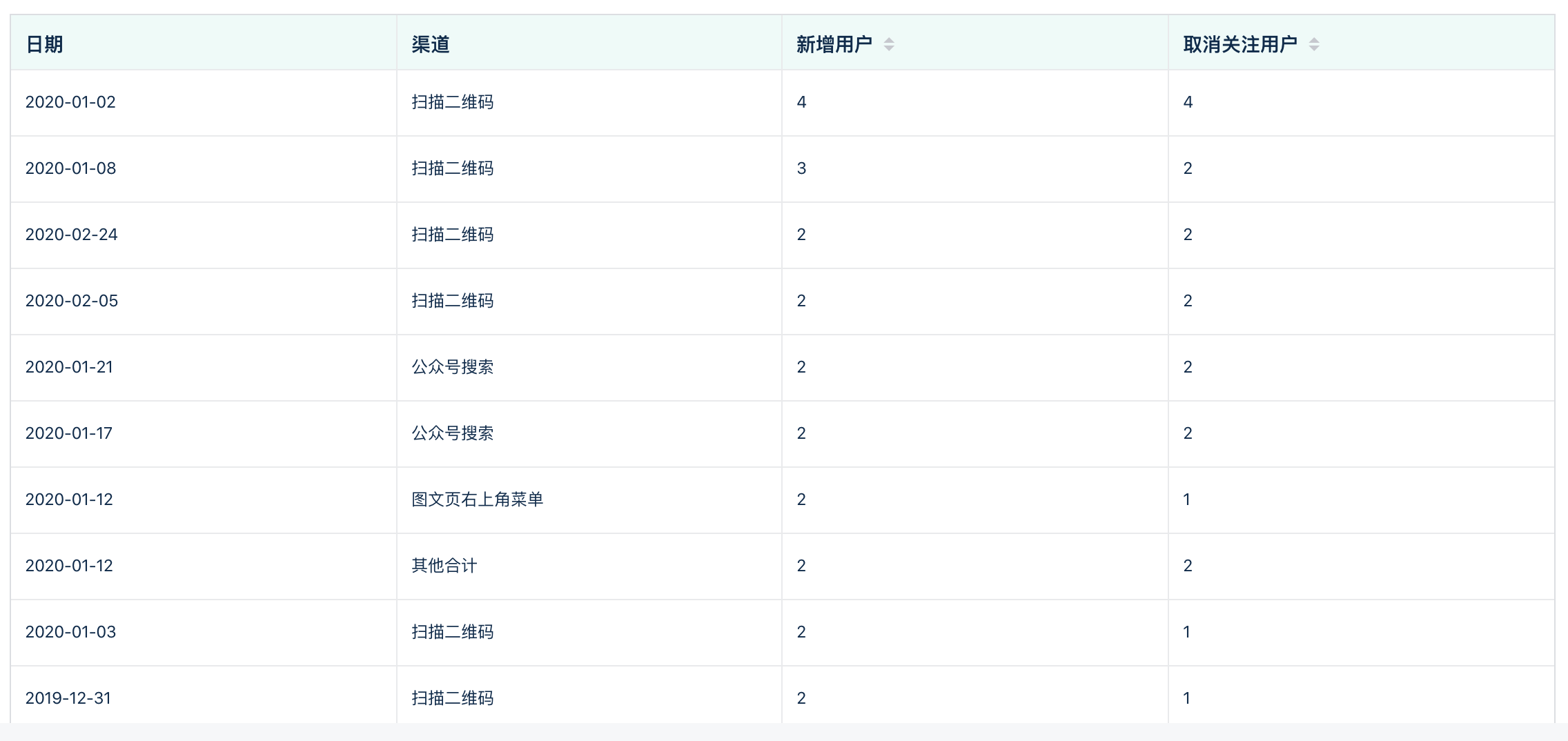
* 【用户分析】统计每日在每个场景的【新增关注人数】和【取关人数】。


### **粉丝数分析**
* 【粉丝数分析】统计公众号每日的【总关注用户数】、【新增用户数】、【取消关注用户数】

### **图文每日阅读数据**
统计每个公众号图文的【每日阅读情况】

## **备注:**
1. 为确保公众号数据已完成统计和处理,请于每天上午8点后查询公众号前一天的数据;
2. 当完成授权公众号后,【统计分析】、【分享转发分析】数据暂不提供历史数据查询;
3. 当完成授权公众号后,【图文分析】、【图文每日阅读数据】**支持一年半的历史数据(540天)**
——(每天获取历史中30天的数据,例,T+1天获取近30天的数据,T+2天获取近31天到近60天的数据,以此类推);
* 注:【T】为微信公众号授权绑定Linkflow当天,如果授权时间(T)=2021年2月1日,那么T+1(2月2日),就可以获取到1月2日~31日;T+2(2月3日),就可以获取到12月3~1月1日的数据(但不能获取到1月2日~31日的数据了),以此类推。
4. 【用户分析】、【粉丝数分析】支持近100天的历史数据(每天获取历史中30天的数据,例,T+1天获取获取近30天的数据,T+2天获取近31天到近60天的数据,以此类推);
5. 历史图文暂不支持获取评论数;
6. 【图文分析】按照图文群发时间统计图文群发7天内的总数据,即页面所选择的时间为图文群发日期;
7. 【msgid】是图文消息id,当同一个素材在同一天内被多次推送,则【msgid】一致。为了避免数据统计混乱,建议不要使用同一个素材在同一天进行多次推送。

* [ ] 名词解释:
msgid:图文消息id
msgindex:图文序号,例如msgindex为3,假设该次群发的图文消息共5个文章(因为可能为多图文),3表示5个中的第3个

*****
## 三、查看各个数据分析的历史数据(主要查看与Linkflow绑定前的历史数据)
——问:微信公众号与Linkflow绑定后,绑定前的数据是否可以查看?
——答:支持查看部分绑定前的历史数据,但是部分不支持
1. 【图文分析】&【图文每日阅读数据】可以查看与Linkflow绑定前的最近一年半的数据
如:微信公众号与Linkflow在2021年的5月1日绑定,绑定后,可以在此处查看到2019年11月1日~2021年4月31日的历史数据

2. 【统计分析】&【分享转发分析】不支持查看绑定前的历史数据
3. 【用户分析】&【粉丝数分析】可以查看与Linkflow绑定前的100天的历史数据
如:微信公众号与Linkflow在2021年的5月1日绑定,绑定后,可以在此处查看到2021年1月21日~2021年4月31日的历史数据

4. 关于【微信分析】数据来源说明
——【微信分析】所有的数据只针对通过【群发】发送的消息(如群发文本、图文等)进行分析(如下图)
——如果是在Linkflow中,通过客户旅程发送的消息(文本、图文等),这些数据的阅读数不包含在【微信分析】

## FAQ(常见问题)
1、在所选日期内推送了图文群发。但是报表中获取的图文数据不全或者报表显示为空?(即没有图文群发后的数据)
答:
①为确保公众号数据已完成统计和处理,请于每天上午8点后查询公众号前一天的数据。
②若当前时间已超过8点,则进入该微信公众号的连接详情页,【设置】-【连接管理】,找到对应的微信公众号,点击后进入连接详情页面。

*****
③点击【微信消息通知】,选择对应的时间段,重新获取数据

2、【分享转发分析】报表,分享场景为具体数值?
答:分享场景是从微信获取的场景,若展示的是数值,则,微信未定义该场景。
- 首页
- 重置密码操作
- 首页情况介绍
- Linkflow浏览器要求
- 仪表盘
- 客户旅程
- 什么是客户旅程?
- 如何使用客户旅程
- 如何创建客户旅程
- 如何停止&删除客户旅程
- 如何重新编辑客户旅程
- 如何将客户旅程添加到目录
- 设置客户旅程
- 如何设置客户旅程转化目标
- 客户旅程模板说明
- 如何创建客户旅程模板
- 选择已有客户旅程模板
- 使用场景说明
- 使用逻辑说明
- 触发条件
- 定时触发条件
- 网页追踪
- 属性变更
- 执行动作
- 加入群组
- 移出群组
- 改变分数
- 延时器
- 变更属性
- A/B分配
- 终止旅程
- webhook
- 内部通知
- 条件分支
- 属性判断器
- 群组判断器
- 事件判断器
- 微信判断器(已下架)
- 时间判断器
- 企微判断器
- 管理客户旅程目录
- 所有用户
- 追踪用户与匿名访客
- 用户分组
- 用户列表
- 用户的创建、查重与合并
- 用户导出和导入
- 用户导出
- 用户导入
- 导出OpenID、UnionID
- 用户查看
- 批量编辑用户
- 互斥组(未上线)
- 用户属性
- 动态日期
- 年龄
- 用户识别
- 用户群组
- 动态标签组
- 静态标签组
- 前置标签组(微信公众号当前粉丝)
- 群组目录
- 用户标签【beta】
- 广告追踪
- 广告模块介绍
- 渠道分析
- 广告平台分析
- 广告时域分析
- 广告地域分析
- SEM广告分析
- 广告计划分析
- 广告单元分析
- 广告创意分析
- 广告关键词分析
- IP分析
- 一键生成通配符URL
- 关键词属性分析
- 广告设备分析
- 信息流广告分析
- 广告计划分析(信息流)
- 广告组分析
- 广告分析
- 广告组属性
- 返点
- 转化目标介绍
- 微信营销(对接公众号才会有此功能模块)
- 触达
- 群发
- 模板消息通知
- 订阅通知
- 二维码管理
- 带参二维码(原为普通二维码)
- 二维码创建路径
- 如何查找带参二维码
- 永久与临时二维码创建
- 带参二维码在触发条件中使用
- 带参二维码在执行条件中使用
- 扫码后回复、加组
- 批量创建/导出二维码
- 二维码分组管理
- 一人一码
- 如何使用一人一码
- 一人一码分组管理
- 基础设置
- 菜单管理
- 卡券管理
- 微信卡券管理
- 微信卡券功能申请条件
- 微信卡券功能开通
- 微信卡券使用
- 微信卡券核销方法
- 图⽂素材
- 菜单会话
- 给动态组用户打微信标签
- 微信分析
- 微信报表明细
- 图文分析
- 统计分析
- 分享转发分析
- 微信用户分析
- 粉丝数分析
- 报表分析
- 事件分析
- 什么是事件分析
- 公共筛选条件
- 如何创建事件分析
- 属性筛选条件说明
- 事件分析报表相关名字解释
- 支持图表
- 漏斗分析
- 用户分析
- 支持图表
- 用户画像
- 群体分析(此功能已下架)
- 时域分析
- 地域分析
- 分布分析【beta】
- 留存分析【beta】
- 路径分析【beta】
- 归因分析【beta】
- 报表管理
- 报表分析临时群组
- 连接管理
- 语音直播
- 千聊
- 千聊与Linkflow对接和设置
- 千聊常见问题
- 客户关系管理(salesforce、爱客/励销、纷享销客)
- 爱客/励销CRM
- 爱客/励销CRM连接和设置
- 爱客/励销-执行动作
- 纷享销客
- 纷享销客连接和设置
- 纷享销客-执行动作
- Salesforce
- Salesforce连接和设置
- Salesforce-执行动作
- 社交媒体(微信公众号、小程序&抖音)
- 微信公众号
- 微信公众号与Linkflow对接
- 同步微信公众号标签
- 批量为用户打标签
- 微信消息通知
- 微信客服会话管理
- Linkflow调用公众号接口列表
- 话题标签
- 微信执行条件
- 发送文本
- 发送图片
- 发送模板消息
- 发送H5
- 发送微信图文
- 发送微信语音
- 发送一人一码
- 发送小程序
- 发送卡券
- 发送微信视频
- 发送菜单会话
- 触发条件-微信
- 关注微信公众号粉丝的来源显示(对接前与对接后关注)
- 删除微信GDPR数据
- 微信开放平台
- 微信开放平台申请
- 微信开放平台认证
- 绑定微信公众号
- 绑定小程序
- 开放平台如何创建第三方平台
- 微信小程序
- 小程序与Linkflow对接
- Linkflow如何与小程序对接
- 小程序绑定公众号
- 小程序SDK接入指南
- 小程序触发条件&事件
- 管理小程序页面
- 扫码打开小程序接入指南
- 同步连接用户
- 批量为用户打标签
- 预置仪表盘
- 微信小程序FAQ
- 小程序相关问题
- 小程序模板消息设置
- 什么是微信小程序
- 公众号快速注册并认证小程序
- 小程序权限集
- 微信公众号申请&认证
- 微信公众号申请
- 微信公众号认证
- 抖音
- 抖音与Linkflow对接
- Webhooks请求网址URL设置
- 重新获取抖音企业号意向用户
- 抖音客户旅程触发条件
- 抖音客户旅程执行动作
- 抖音企业号认证
- 抖音常见问题
- 微博
- 微博与Linkflow的对接
- 微博授权短链接
- 设置消息回调
- 电子商务Saas
- 抖店
- 抖店与Linkflow对接
- 配置事件消息推送地址
- 抖店分析与营销
- 邮件服务
- WebPower
- WebPower与Linkflow连接
- 发送Webpower邮件
- SendCloud
- SendCloud连接和设置
- Sendcloud域名追踪
- webhook设置
- SendCloud-执行动作
- Sendcloud价格相关
- Sendcloud FAQ
- 有赞
- 有赞与Linkflow对接
- 有赞触发条件
- 微盟
- 微盟与Linkflow对接
- 微盟-触发条件(触发事件)
- 用户行为记录高级功能
- 短信服务(云片网&腾讯短信)
- 云片网
- 云片网连接和设置
- 申请短信签名&模板
- 云片网-执行动作
- 短信回复和退订
- 短信跳转小程序
- 短信推送状态报告设置
- 超级短信开通及使用
- 超级短信开通
- 如何使用超级短信
- 超级短信状态报告
- 云片网短链
- 腾讯短信
- 腾讯短信连接与设置
- 腾讯短信-执行动作
- 协同办公(企业微信、钉钉)
- 企业微信
- Linkflow与企业微信对接
- 企业微信连接和设置
- 设置客户联系接收事件服务器
- 同步成员数据
- 同步客户数据
- 聊天工具栏
- 群发客户消息
- 企业朋友圈
- 企业微信如何关联小程序
- 新客户欢迎语
- 「联系我」二维码
- 如何在Linkflow中获取企业微信相关数据
- 企业微信事件分析
- 客户旅程-企业微信
- 触发条件
- 执行动作
- 钉钉
- 钉钉连接和设置
- 钉钉-执行动作
- 钉钉-触发条件
- 视频会议直播
- 微吼
- 微吼连接和设置
- 微吼-触发条件
- 微吼-执行动作
- 目睹直播
- 目睹连接和设置
- 目睹触发条件
- 目睹事件分析
- 小鹅通(尚未上线)
- 小鹅通连接和设置
- 小鹅通-触发条件
- 小鹅通-直播短链接
- 广告投放
- 今日头条推广
- 微信广告
- 微信广告与Linkflow对接
- 获取微信朋友圈广告填单线索
- 神马推广
- 360推广
- 360推广与Linkflow的连接和设置
- 360广告API接口
- 搜狗推广
- 搜狗推广与Linkflow的对接和设置
- 百度推广
- 百度推广与Linkflow的对接和设置
- OneDesk(尚未上线)
- 表单数据
- 金数据
- 金数据连接和设置
- 金数据-触发条件
- 金数据表单映射以及相关功能
- 金数据如何绑定微信公众号
- 如何映射金数据表单
- 金数据扩展属性的使用
- 金数据表单推广功能
- 金数据相关应用场景
- 问卷星
- 问卷星连接和设置
- 问卷星-触发条件
- 问卷网
- 问卷网连接和设置
- 问卷网-触发条件
- 问卷网价格
- CMS(待上线)
- 如何在linkflow里面连接和设置CMS
- CMS表单映射
- CMS如何绑定微信公众号
- CMS设置数据推送
- 如何映射CMS中的表单
- 收钱吧(尚未上线)
- 收钱吧与Linkflow对接
- 收钱吧触发条件
- 驿氪
- 驿氪执行动作
- 同步连接用户
- 创蓝253(目前不对外开放)
- 句子互动(尚未上线)
- 悠易互通Yoyi(尚未上线)
- 内容素材
- 易企秀
- 易企秀内容中台与Linkflow对接
- 企微运营
- 微伴助手
- Linkflow与微伴助手对接
- 导出用户到微伴
- AI外呼_一知智能
- AI外呼_一知智能连接和设置
- AI外呼_一知智能-执行动作
- 元数据管理
- 用户属性
- 事件元数据
- 事件属性
- 自定义图元(所有自定义渠道的自定义图元)
- 虚拟事件
- 字典表
- 设置
- 网站追踪
- 短链接
- 短链接管理
- 短链接分组管理
- 批量创建/导出短链接
- App集成设置
- 私有App设置
- SFTP站点设置
- 授权设置
- 功能新增
- 我的账号
- 使用情况
- 通知中心
- 高级设置
- 员工
- 管理员工所属部门(暂不对外开放)
- 如何创建员工(含多因素验证)
- 角色
- 用户字段加密
- 操作日志
- JS SDK接入
- 网页埋点说明
- 微信表单页面埋点说明
- 微信网页分享裂变
- 自定义连接
- 如何在Linkflow连接和设置自定义渠道
- 如何修改自定义渠道的图标
- 自定义图元
- 自定义事件(事件元数据)
- IOS移动应用接入
- Android移动应用接入
- 同步连接用户
- 同步连接事件
- 删除用户数据
- Linkflow对接指南
- 账号信息
- 工单
- 常见问题
- 微信常见问题
- 微信公众平台服务号、订阅号、企业号的功能区别
- 模板消息是否支持英文版本
- 扫码签到后却发送两个签到通知消息
- 公众号模板消息
- 微信公众号发布了的文章如何删除
- 什么行为算是48小时内的活动,从而能够用客服消息触达
- 公众号提示:该公众号提供的服务出现故障,请稍后再试
- 在开放平台绑定公众号/小程序数量相关问题
- 同一个主体最多可以申请多少个微信公众号
- 留言功能
- 有多个微信公众号,客户身份如何合并?
- 公众号接口调整【关注公众号后无法获取用户昵称、头像】
- 问卷网常见问题
- 金数据常见问题
- 企业微信FAQ
- 微吼常见问题
- 系统登录问题
- 版本更新说明
- Linkflow以往的版本
- 2110 R1 版本更新说明
- 2111 R1 版本更新说明
- 2112 R1 版本更新说明
- 2201 R1 版本更新说明
- 联系客服在线咨询
- 广告运营分析(尚未上线)
