### **一、会员的RFIMD如何设置值?**
在设置里系统参数基础设置开启会员RFMID统计开关。
**具体详细操作说明,请查看[RFMID操作说明](https://www.kancloud.cn/tianren13/ck20181009/3015215)**
### **二、2. 如何设置客户标签?**
在会员的会员管理中点击详情添加标签

点击添加标签

### **三、如何新增标签?**
在设置里>系统设置>标签设置

点击新增进行新增标签

### **四、如何群发短信?**
在会员的会员管理中勾选群发的会员。

再点击群发短信,弹出发送短信小窗口,活动名称、活动开始时间、活动结束时间是必填项,其他都是非必填项,选择完成点击“下一步”

点击“下一步”选择模板类别、短信模板、短信内容(必填1),然后点击“下一步”进入发送页面点击“发送”

# **温馨提示:**
实际发送短信内容=短信内容 + 退订回T+【创客】
短信长度如果小于70个字(包括标点符号),则为一条;如果大于70个字,则每67个字为一条分多条发送
### **五、如何查询短信短信发送状态?**
可以登入http://115.28.179.225:8888/logins.html进行查询。
注意:客户确保短信余额充足。
### **六、如何导出会员会员信息?**
筛选出你要的会员然后点击导出,弹出提示是否导出以下会员数据点击“确定”导出Excel格式文档

### **七、为什么勾选会员“导出”是导出全部会员的数据?**
勾选会员是针对群发短信使用的,导出是按照筛选出来的会员导出的!
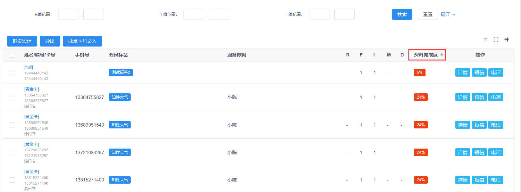
### **八、如何提高资料完成度?**
在会员管理页面点击“详情”进入会员详情页。

再编辑会员信息提高会员资料完成度,然后点击“保存”。

### **九、如何设置属性资参与料完成度统计。**
在设置>系统设置>会员属性设置里设置。

### **十、在哪里对会员进行筛选搜索。**
在会员>会员管理进行会员搜索。

# \*\*温馨提示:\*\*搜索会员标签时选择多个标签必须该会员同时拥有才能搜索到
### **十一、会员列表如何电话回访?**
在会员列表中点击“电话”进入回访页面。

选择完点击发送,显示电话回访成功。

### **十二、电话回访选择确认到店会到哪?**
选择确认到店后回访的会员会到任务的意向到店中。

### **十三、在哪里看会员最后消防日期和多久未消费?**
会员列表中点击详情查看会员画像

### **十四、如何查询会员的所有回购计划?**
在会员列表中点击“详情”进入会员详情页面查看回购计划

### **十五、如何修改回购计划总结?**
在会员列表中点击详情在会员详情页面的回购计划点击“详情”进入

进入“详情”页面点击“编辑”修改回购总结

### **十六、会员如何新增家属信息?**
在会员页面点击“详情”进入会员详情查看家属信息点击“新增”

弹出一个新增家属信息,填写姓名、称谓、电话、备注后点击保存。

### **十七、如何查看会员消费信息?**
在会员列表中点击“详情”进入会员详情页面点击查看消费信息。

### **十八、如何编辑编辑会员消费跟进记录?**
在会员列表中点击“详情”进入会员详情页面点击消费信息查看“跟进记录”。

点击跟进记录弹出跟进记录页面,点击铅笔图案新增或修改。

### **十九、功能优化**
1.会员管理增加筛选是否企业微信外部联系人

2.会员列表增加批量卡号查询

提示:录入时需要换行录入
3.会员管理详情增加轨迹
会员管理详情页面增加浏览商品和浏览轨迹,查询会员浏览的商品和浏览的页面。


4.会员管理,会员资料详情页会员足迹增加导出按钮。

5.会员资料增加完成度排序

6. 创客会员资料增加刷新关注公众号状态

7.创客会员管理刷新关注公众号状态优化

8.创客会员列表会员详情消费记录添加导出按钮

9.创客会员资料详情增加着装顾问修改记录


10.会员管理新增筛选条件最后回访时间

11.会员中心的用户二维码的电话显示,改为显示电话的前三位和后四位
此功能需要在分销开启参数
M3:在店铺参数设置里开启【开启扫描小程序礼券券码/会员码】,

M8:在系统参数设置里开启【开启扫描小程序礼券券码/会员码】,

分销参数设置为1时,即启用了参数,此时会员码只显示前三位和后四位;分销参数设置为0时,即不启用参数,此时会员码则会显示完整的电话的前三位和后四位。

12.创客10.0小程序4.3.0版本更新会员特征修改日志
修改会员信息数据库存储日志,不做展示

13.创客10.0小程序4.3.0版本更新 会员管理导出新增会员累计积分的字段


14.创客10.0小程序4.3.0版本更新 会员管理导出新增卡余额字段

15.会员详情新增实际平均折扣(剔除不参与连带率的商品)
连带实收金额 / 连带吊牌额

16.查找条件新增按经销商

17.大V客户可以进行特殊表现设置


18.M8创客会员管理添加资料完善度功能
M8会员管理增加资料完成度,在创客系统设置-会员属性设置设置属性权重,会员列表显示会员资料完成度


- 版本说明
- 小程序指南
- 注意事项
- 小程序确认
- 服务号确认
- 创客确认
- 分销系统操作
- 小程序功能开通
- 微信支付商户号开通
- 微信支付账号开通指南
- 查看商户号和获取支付秘钥
- 证书下载
- 商户号关联小程序
- 小程序发布说明
- 客服设置
- 小程序接入指南
- 升级说明(图文)
- 新手入门
- 商城目录
- 首页
- 线上商城
- 线上商城
- 商城概况
- 商城装修
- 主页
- 导航
- 会员中心
- 微页面
- 素材中心
- 主题
- 悬浮窗
- 公共路径
- 功能扩展
- 如何设置附近门店
- 如何设置一键拨号、一键导航、门店信息?
- 小程序保存图片组、生成海报
- 会员中心装修分销中心
- 图片广告如何设置热区关联链接
- 商城装修如何跳转到首页、会员中心、购物车、直播间等
- 图文和公众号自动回复跳转小程序
- 如何让顾客关注公众号后再领取小程序会员卡
- 后台页面优化
- 商城装修商品/商品分组增加排序
- 商城装修增加视频组件装修
- 商城装修主页二维码增加刷新功能
- 店铺装修微页面增加积分商品组件
- 会员中心增加修改卡支付密码
- 商城装修增加预售装修组件
- 商城装修导航优化
- 会员中心增加商品收藏功能
- 微页面导航优化增加背景色和文字颜色
- 微页面支持http、https 网络地址装修
- 会员中心装修增加联系服务顾问
- 小程序开卡绑卡说明
- 微页面分类模板优化
- 微页面装修增加秒杀组件装修
- 商城装修导航栏类型增加自定义功能
- 微页面增加背景色设置
- 会员中心九宫格UI、订单信息块优化
- 创客商城装修会员中心添加签到功能
- 小程序微页面添加分享图
- 创客微页面链接装修增加小程序链接装修
- 会员中心装修新增可隐藏积分的配置
- 创客会员中心卡余额增加显示与隐藏
- 创客会员中心,个人中心、我的订单、九宫格增加圆角样式
- 创客微页面装修添加链接界面添加视频号装修模块
- 会员中心添加卡升级到下一级别信息
- 会员中心消费记录增加实付额
- 小程序优惠券领取方式优化,无门槛优惠券可直接领取
- 积分商品组件添加排序
- 小程序会员中心新增一个推广码
- 创客分类模板增加是否显示下一分类设置
- 装修栏目组件新增一个“会员当前积分
- 小程序会员中心个人资料可修改昵称及头像
- 微页面增加会员栏组件
- 扩展
- 第三方小程序链接跳转
- 商城装修新增商品来源:最近浏览
- 海报模板
- 固定页装修
- 商城管理
- 通用设置
- 门店设置
- 支付设置
- 小程序设置
- 公众号设置
- 订阅通知
- 消息设置
- 图文素材
- 会员管理
- 开卡设置
- 会员等级
- 会员积分
- 会员储值
- 小程序会员中心
- 商城黑名单
- 商品管理
- 如何创建和发布商品?
- 商品分组有什么用?
- 如何设置个性化商品页?
- 商品库存说明
- 商品导入说明
- 如何设置商品组排序?
- 商品规格如何设置?
- 如何对商品进行批量改价
- 如何对商品进行批量修改会员折扣、商品分组等属性
- 如何对商品使用会员折扣
- 库存不足提示优化
- 添加商品增加商品上传控件
- 赠品设置
- 商品增加虚拟销量和虚拟评价
- 商品管理列表增加排序
- 商品详情增加正在参与的活动
- 商品分销导入小尺码组处理
- 商品分销导入增加吊牌价取值
- 商品海报增加秒杀价格和秒杀标识
- 商品分组增加商品排序功能
- 商品管理增加批量配制类目品牌和交易组件商品同步
- 商品详情页增加直播入口小图标
- 商品管理增加商品改价记录
- 商品详情图片上传添加拖拽排序
- 商品管理增加导出按钮
- 创客商品详情添加批量设置重量
- 商品管理增加按品牌筛选
- 创客商品管理商品规格可设置别名
- 创客商品管理商品分组支持多个分组筛选
- 创客商品管理商品详情添加类目显示及编辑
- 创客商品编辑单颜色批量设置价格
- 商品详情分享视频号链接推送新增是否推送二级提示
- 商品款号增加批量查询
- 商品详情新增联系服务顾问
- 创客商品管理增加支持指定微信客服
- 商品详情新增品牌编辑
- 创客商品管理批量设置增加可以批量设置到店自提
- 小程序商品规格颜色优先展示别名
- 创客商品管理支持指定商品刷新
- 商品图可以添加gif动态图
- 创客商品详情商品规格图片要求可以删除
- 商品管理新增一个excel表格导入的方式实现批量修改序号
- 分销后台吊牌价更改之后,小程序的价格需要同步吊牌价,新增一个批量同步价格按钮
- 商品详情-按照商品的条码对照5 同步到线上尺码别名
- 商品详情标题支持自定义
- 买家秀
- 订单管理
- 订单查看
- 订单运费设置
- 商品配送方式设置
- 订单处理流程说明
- 售后处理流程说明
- 订单优惠价格计算说明
- 评价管理
- 申请维权退款原因调整
- 维权原因管理
- 维权管理优化
- 维权管理退货增加是否导购原因退货
- 小程序余额支付显示卡余额
- 礼券包归属门店集合店优化
- 订单查看物流
- 订单价格计算优化
- 维权地址
- 小程序订单管理维权优化
- 自提提货明细(自提码核销)
- 商城营销
- 总览
- 会员互动
- 大转盘抽奖
- 收藏有礼
- 积分商城
- 问卷调查
- 签到
- 图片工具
- 广告弹窗
- 评价有礼
- 礼券分裂
- 贺卡
- 评分系统
- 邀请有礼
- 完善资料有礼
- 商品促销
- 限时折扣
- 满减
- 包邮
- 拼团
- 优惠套餐
- 全款预售
- 满x件打y折/满x件减y元
- 秒杀
- 支付有礼
- 限时特价
- 领券购买
- 砍价
- 发售抽签
- 满额换购
- 会员权益
- 优惠券
- 礼劵包
- 分销返佣
- V100
- 意见反馈
- 小程序笔记
- 浏览统计
- 视频号
- 腾讯直播开通流程
- 腾讯直播注册账号和开通权限
- 腾讯直播结合微店落地方案
- 腾讯直播结合三联小程序商城落地方案
- 腾讯直播结合导购卖货落地方案
- 小程序商城直播
- 微店、三联小程序对接ERP线上订单管理
- 快乐企鹅直播间推广
- 小程序直播增加删除按钮
- 视频号交易组件
- 分享员
- 纠纷列表
- 视频号直播说明(属于官方功能,三联仅做接入)
- 资金管理
- 品牌类目
- 短链接
- 资金流水
- 店中店模式
- 导购营销
- 任务中心
- 推广记录
- 营销中心
- 素材中心
- 微信客服
- 视频号小店
- 会员管理
- 会员管理
- 会员分组
- 潜客管理
- 批量打标
- 标签管理.
- 营销活动
- 营销活动
- 优惠券
- 礼券包
- 优惠券发放
- 发送记录
- 回购计划
- 自动化营销
- 自定义营销
- 短信发放
- 优惠券过期提醒
- 营销画布
- 我的任务
- 生日回访
- 消费回访
- 我关注的
- 意向到店
- 休眠唤醒
- 回访记录
- 学习成长
- 文章管理
- 任务管理
- 统计报表
- 搭配款式
- 数据分析
- vip结构
- 消费行为
- 客单价
- 物单价
- 新增vip
- 占比趋势
- 消费统计
- vip详情
- 消费详情
- 消费占比
- 年龄段分析
- 转化率
- 发展率
- 回购率
- 流失率
- 保留增长率
- 充值报表
- 服务顾问
- 导购积分
- 企业微信
- 企业员工
- 标签管理
- 通用配置
- 外部联系人
- 群发消息
- 图片管理
- 代客下单
- 打卡记录
- 企业话术
- 我的店务
- 接口许可
- 企业微信更新内容
- 同事圈
- 客户群
- 视频管理
- 系统设置
- 员工账号
- 角色管理
- 短信模板
- 报表维护
- 系统设置
- RFMID操作说明
