# 申请门店:前端—会员中心—门店申请
## 在会员中心找到门店申请,填写完对应的信息即可提交门店申请,门店申请支持会员ID,会员昵称/姓名/手机号来搜索,后台截图:

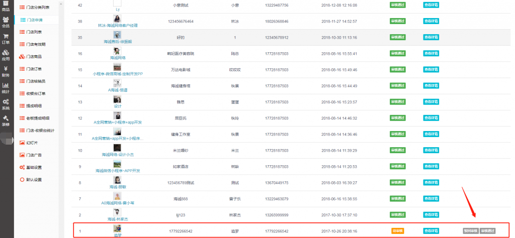
## 在后台门店申请列表可以看到正在申请的门店,进行操作,如图:
## [](http://wikiyun.hcwxcn.com/wp-content/uploads/pic2019-05-09_07-54-13.png)

## 商家可以在后台对申请进行审核(申请驳回后可再进行申请),点击审核通过后,后台门店申请会显示会员申请的信息

## 审核通过后会在门店列表中显示,会员可以在自己门店后台进行信息完善

## 门店申请通知(后台–门店-收银台–基础设置中的通知设置)
## [](http://wikiyun.hcwxcn.com/wp-content/uploads/pic2019-05-09_09-02-19.png)
- 如何快捷使用本教程?
- 第三方资讯
- 第三方的通知
- 微信支付商户
- 运营风险注意事宜及资讯
- [行业动态] 分销失控变传销?社交电商如何避免落入违法“三要素”
- 风险运营内容提醒
- 关于合法使用海诚商城系统的声明!
- 腾讯第三方平台
- 微信公众号
- 准备资料
- 如何申请微信公众号
- 公众号群发文章
- 微信小程序
- 小程序概述
- 申请认证资料
- 快速申请认证小程序
- 微信开放平台
- 准备资料
- 微信开放平台申请认证(新版)
- 开放平台之创建应用
- 开放平台申请微信支付
- 微信支付商户平台
- 申请微信支付商户(新版)
- 如何开启或关闭企业付款到零钱功能
- 如何开通企业付款到个人银行卡功能
- 企业付款到个人银行卡的常见问题
- 支付商户如何查看站内消息通知
- 系统第三方平台
- 阿里云
- 阿里云注册
- 阿里云企业实名认证
- 短信
- 购买短信套餐
- 短信签名模板添加
- 短信对接云商城
- 域名
- 资料准备
- 购买域名
- 域名实名认证
- 域名ICP备案
- 备案概述
- 备案资料准备
- 开始备案pc端
- 服务器CES
- 服务器ECS购买(标配配置)
- 余额充值
- 数据库RDS
- 数据库RDS购买(标配配置)
- SSL证书
- ssl证书购买
- ssl证书申请
- ssl证书部署
- OSS对象存储
- 创建Buckets
- oss对接云商城后台
- oss对象存储如何上传文件或视频
- 获取oss秘钥
- 腾讯云
- 带货直播腾讯云相关费用说明
- 腾讯云短信对接
- 快递鸟
- 快递鸟账号注册认证
- 快递鸟对接云商城
- 苹果开发者账号
- 资料准备
- 注册苹果开发者账号(企业账号)
- 好推(app下载链接合二为一)
- 安卓百度移动开放平台
- 准备资料
- 注册百度移动开放平台(企业)
- 支付宝
- 支付宝账号概述
- 准备资料
- 企业账号注册
- 个人账号注册
- 后台登录操作
- 自定义菜单
- 自动回复
- 平台框架
- 云商城更新日志
- 20200529更新,更新版本2.3.61
- 20200605更新,更新版本2.3.63
- 云商城框架
- 海诚系统框架
- 海诚系统对接
- 微信公众号如何接入系统
- 小程序如何接入系统
- 微信支付如何接入系统
- 支付宝如何接入系统
- 商品
- 发布商品
- 商品描述
- 属性
- 商品规格
- 表单
- 营销
- 消息通知
- 分享关注
- 权限
- 折扣
- 配送
- 优惠卷
- 限时购
- 商品标签
- 邀请页面
- 服务提供
- 区域分红
- 代理商设置
- 换货券设置
- 分销
- 信用值
- 自定义表单
- 消费积分
- 等级返现
- 爱心值
- 会员价设置
- 招商分红
- 我的小店分红
- 自提点
- 业绩奖励
- 积分活动奖励
- 每日红包
- 主播分红
- 共享链
- 股东分红
- 消费赠送
- 经销商提成
- 课程管理
- 虚拟卡密
- 商品列表
- 商品表单
- 商品分类
- 品牌管理
- 配送模板
- 评论管理
- 优惠卷管理
- 优惠卷列表
- 领取发放记录
- 分享领取记录
- 购物送卷
- 购物分享送卷
- 商品标签
- 退换货地址管理
- 满额优惠
- 批量操作
- 商品、优惠券常见问题
- 会员
- 全部会员
- 添加会员
- 操作
- 会员详情
- 收入详情
- 会员订单
- 充值积分
- 充值余额
- 推广下线
- 团队下线
- 推广上线
- 设置黑名单
- 银行卡管理
- 收货地址管理
- 会员等级
- 添加新等级
- 会员分组
- 添加新分组
- 关系设置
- 资格申请
- 推广中心设置
- 会员邀请码
- 会员常见问题
- 订单
- 订单视频讲解
- 全部订单
- 导出直推EXCEL(经销商)
- 导出excel
- 查看详情
- 退款并关闭订单
- 确认发货
- 退换货订单
- 待支付订单
- 待发货订单
- 待收货订单
- 已完成订单
- 已关闭订单
- 支付异常订单
- 支付回调异常订单
- 退换货订单
- 已退款
- 批量发货
- 订单常见问题
- 应用
- 分润类
- 推客
- 推客视频讲解
- 推客功能讲解
- 分销设置
- 分销等级
- 分销商管理
- 分销订单管理
- 招商
- 招商中心管理
- 招商员管理
- 招商申请
- 招商中心分红
- 招商员分红
- 招商中心 等级
- 招商员等级
- 基础设置
- 微店
- 微店管理
- 微店等级
- 分红记录
- 图片轮播
- 微店基础设置
- 区域分红
- 区域分红讲解
- 分红设置
- 区域代理管理
- 区域代理申请
- 区域分红记录
- 区域代理商家独立后台
- 手动分红
- 手动分红功能讲解
- 手动分红基础设置
- 手动分红记录
- 分红明细
- 股东分红
- 股东分红功能说明
- 股东分红记录
- 股东分红基础设置
- 经销商管理
- 经销商会员管理
- 经销商等级
- 激活码记录
- 提成明细
- 红包奖励记录
- 经销商基础设置
- 感恩奖
- 平级奖
- 额外奖励
- 行业类
- 酒店
- 酒店前后端功能汇总展示
- 酒店分类
- 酒店申请
- 酒店列表
- 酒店商品
- 酒店订单
- 收银台订单
- 酒店提成明细
- 酒店 统计
- 幻灯片
- 酒店基础设置
- 租赁
- 租赁功能
- 基础设置
- 押金管理
- 归还地址
- 租期设置
- 等级权益
- 租赁商品
- 订单管理
- 微社区
- 帖子管理
- 分类管理
- 打赏记录
- 敏感词管理
- 微社区基础设置
- 会务活动
- 会务活动管理
- 会务活动基础设置
- 视频点播
- 视频点播基础设置
- 幻灯片管理
- 导航管理
- 讲师管理
- 讲师分红
- 添加课程章节
- 聚合供应链
- 聚合供应链基础设置
- 商品导入
- 聚合供应链商品列表
- 订单列表
- 推送信息
- 单品风控
- 导入分类
- 云仓设置
- 云仓管理
- 供应商管理
- 供应商会员管理
- 供应商申请
- 供应商全部订单
- 供应商待发货订单
- 供应商待支付订单
- 供应商待收货订单
- 供应商已完成订单
- 供应商已关闭订单
- 供应商退换货订单
- 供应商已退款订单
- 供应商商品
- 供应商提现
- 供应商基础设置
- 供应商保单管理
- 门店收银台
- O2O门店流程及前端介绍
- 门店分类列表
- 门店申请
- 门店有效期
- 门店商品
- 门店订单
- 门店核销员
- 老板提成明细
- 订单提成明细
- 门店-收银台统计
- 门店幻灯片
- 门店广告
- 门店-基础设置
- 门店-默认设置
- 门店列表
- 门店预约
- 门店预约功能概述
- 项目分类管理
- 项目管理
- 技师管理
- 商品管理
- 门店预约—订单管理
- 收益管理
- 会员项目管理
- 预约管理
- 门店预约—评论管理
- 门店预约—幻灯片
- 门店管理—设置
- 名片
- 基础设置
- 名片管理
- 自提点
- 自提点概述
- 自提点管理
- 申请列表
- 提成明细
- 基础设置
- 自提点独立后台
- 店铺助手
- 营销类
- 新海报
- 海报管理
- 扫码记录
- 奖励记录
- 添加海报
- 权限设置
- 推送设置
- 奖励设置
- 通知设置
- 分销设置
- 海报常见问题
- 爱心值
- 爱心值管理
- 定期充明细
- 爱心值明细
- 爱心值交易
- 充值记录
- 激活记录
- 返现记录
- 分红统计记录
- 基础设置
- 充值设置
- 奖励设置
- 激活设置
- 交易设置
- 返现设置
- 提现设置
- 消息设置
- 分红统计设置
- 信用值
- 排行榜
- 聚合供应链
- 聚合供应链常见问题
- 聚合供应链设置
- 广告市场
- 文章营销
- 基础设置
- 文章管理
- 文章分类
- 文章发布
- 早起打卡
- 早起打卡早起打卡功能概述
- 早起打卡设置
- 分享设置
- 规则说明
- 消费返现
- 消费返现讲解说明
- 消费返现设置
- 消费返现队列
- 消费返现记录
- 拼团活动
- 拼团功能讲解
- 发布拼团活动
- 活动列表
- 订单管理
- 退换货订单
- 已退款订单
- 基础设置
- 拼团奖励
- 固定奖励
- 固定奖励设置
- 固定奖励队列
- 固定奖励记录
- 满额赠送
- 满额赠送队列
- 冻结队列列表
- 满额赠送记录
- 日志
- 满额赠送设置
- 商品套餐
- 套餐管理
- 添加套餐
- 基本信息
- 分享设置
- 幻灯片
- 套餐描述
- 素材中心
- 素材列表
- 素材设置
- 智能画册
- 画册管理
- 价格权限
- 价格权限设置
- 每日红包
- 基础设置
- 每日红包记录
- 领取记录
- 红包额度管理
- 红包额度记录
- 拓客活动
- 创建活动(总平台活动)
- 门店拓客活动
- 积分签到
- 积分签到设置
- 分享设置
- 积分签到规则
- 通知设置
- 消费赠送
- 任务奖励
- 任务奖励设置
- 活动管理
- 视频分享
- 发现管理
- 分红记录
- 基础设置
- 幸运大抽奖
- 幸运大抽奖简述
- 添加活动
- 转发宝
- 转发宝活动列表
- 转发宝基础设置
- 案例库
- 案例库基础设置
- 案例管理
- 案例分类
- 专题管理
- 新人奖
- 功能概述
- 创建活动
- 门店股东
- 社区接龙
- 订单飘窗
- 标签服务
- 工具类
- 打印机
- 添加打印机
- 小程序
- 小程序申请与接入
- 小程序发布
- 快递助手
- 快递及面单打印
- 快递单模板管理
- 发货单模板管理
- 发件人信息管理
- 电子面单管理
- 打印设置
- 商品助手
- 商品导入
- 淘宝商品导入
- csv上传
- 帮助中心
- 帮助管理
- 基础设置
- 订单导入
- 订单导入
- 多打印机
- 小程序直播
- 如何开通小程序直播(新版)
- 小程序直播配置
- 小程序直播说明
- 小程序直播添加商品
- 自定义表单
- 链接工具
- 链接列表
- 商品排行
- 功能概述
- 商品排行基础设置
- 榜单分类
- 榜单管理
- 物流公司导入
- 语言设置(首页、分类、推广、购物车、会员中心)
- 地址管理
- 禁运地区
- 自定义交易组件
- 自定义交易组件对接
- 视频号直播间
- 财务
- 余额设置
- 会员余额
- 充值记录
- 转让记录
- 余额明细
- 收入明细
- 提现设置
- 提现统计
- 提现记录
- 积分管理
- 转账审核
- 收益广告
- 批量充值
- 财务常见问题
- 统计
- 会员数据统计
- 会员关系统计
- 会员订单排行
- 手机归宿地统计
- 订单分润
- 交易额统计
- 商家收入统计
- 平台收益列表
- 平台手机统计
- 会员收入统计
- 手续费/劳务税汇总
- 积分数据统计
- 余额数据统计
- 赠送优惠卷统计
- 商品销售统计
- 会员一二级团队统计
- 系统
- 商城入口
- 商城设置
- 设置
- 会员
- 订单
- 分类
- 联系方式
- 短信
- 优惠卷
- 分享
- 幻灯片
- 广告位
- 会员资料表单
- 注册协议
- 物流查询
- 物流查询-芸签
- 交易设置
- 支付方式
- 消息提醒
- 微信模板管理
- 小程序消息模板
- 自定义模板管理
- 语言设置
- 分销设置
- 消费赠送设置
- 经销商奖励设置
- 满额赠送设置
- 经销商管理设置
- 区域代理设置
- 门店收银台设置
- 收入提现设置
- 角色管理
- 操作员
- 操作日志
- 装修DIY
- 装修DIY模板管理
- 店铺页面
- 顶部导航
- 底部菜单
- 模板市场
- 装修DIY首屏广告
- 装修DIY基础设置
- 装修
- 模板管理
- 店铺装修
- 会员中心装修
- 顶部菜单
- 底部导航
- 小程序导航
- diy模板市场
- 首屏广告
- 小程序
- 手动发布
- 基础设置
- 小程序数据助手
- 小程序发布1.0
- 小程序常见路径
- 问题类
- 下级购买商品为什么上级没有获得佣金?
- 不同的分销商要如何拿到不同的佣金比例?
- 转发小程序给下级时,为什么后台显示的是总店?
- 可以在小程序上长按识别二维码吗?
- 视频点播讲师分红如何计算
- 视频点播讲师分红是否可以关闭,或者不要讲师分红计算佣金
- 商品下单时没有要求填写地址怎么处理。
- 后台如何给会员冲减积分或余额
- 订单如何修改价格?
- 如何在后台修改分销商等级
- 腾讯云对象存储 COS 服务如何上传视频或文件
- 制作添加自动回复功能
- 制作添加自定义菜单功能
- 如何更改分销一二级的前端下级名称
- 门店如何设置客服?
- 门店商品支持哪几种分润方式?
- 门店核销员如何添加,核销员作用是?
- 如何设置订单完成后多少天允许退款?
- 如何在后台修改会员等级
- 如何更改海报底图
- 门店如何登录门店的独立后台
- 门店上传产品有几种方式
- 消费者如何操作申请退换货操作
- 微信支付api证书如何续期
- 分销我的客户显示明细
- 转账到支付宝账户(支付宝提现)接口升级如何对接?
- 如何修改会员上级推荐人
- 系统如何对接qq客服
- 如何对接企业微信客服
- 对接带货直播在腾讯云上涉及到哪些费用?
- 企业微信
- 企业微信注册
- 企业微信认证
- 企微管家SCRM对接
- 企微管家SCRM对接侧边栏
- 企业视频号注册
- 系统更新日志
- 视频