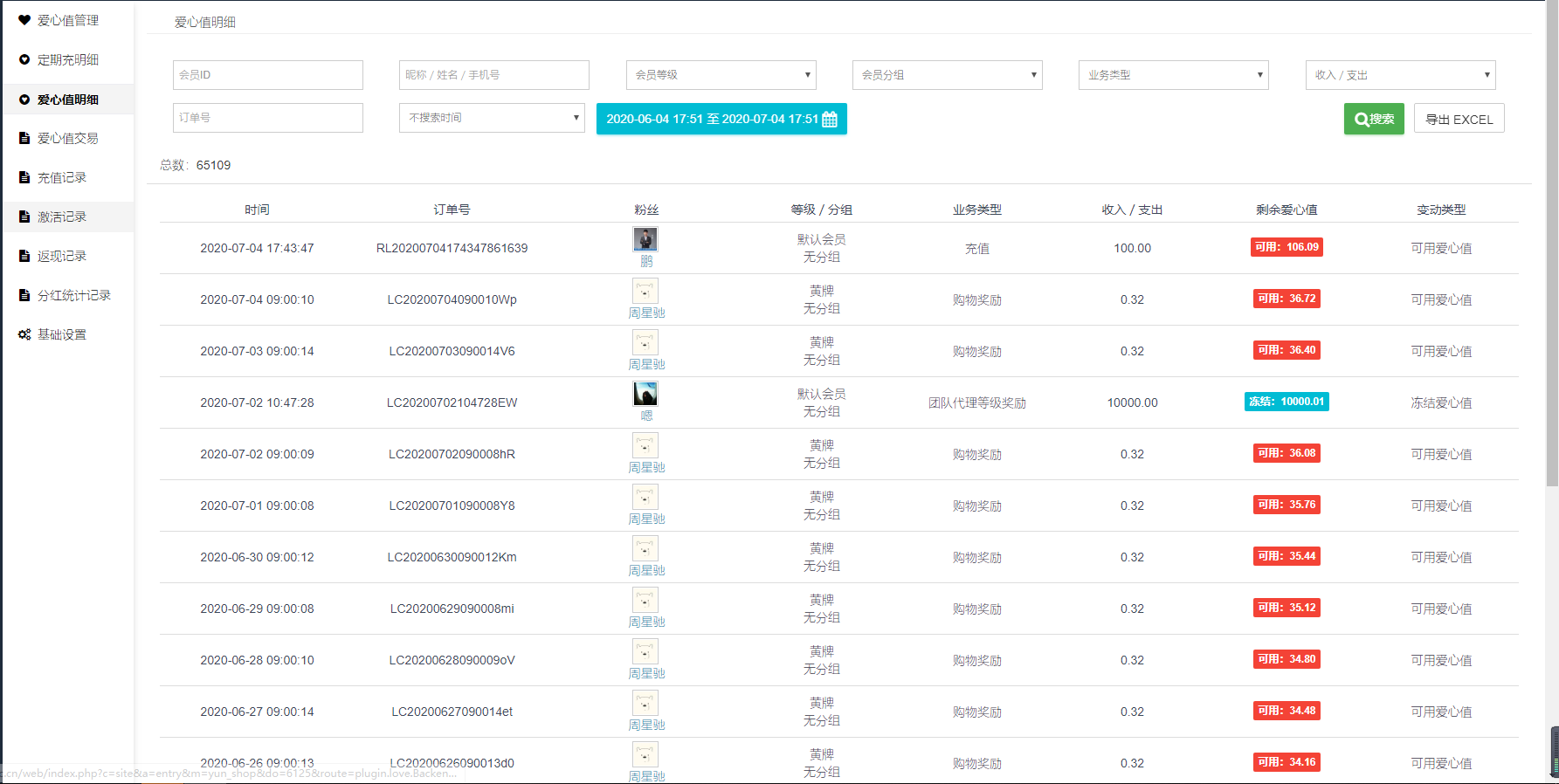
### **爱心值明细**
#### 会员账上的爱心值数量明细以及什么方式获得的爱心值都可在此查询。
#### 支持搜索及导出。

- 如何快捷使用本教程?
- 第三方资讯
- 第三方的通知
- 微信支付商户
- 运营风险注意事宜及资讯
- [行业动态] 分销失控变传销?社交电商如何避免落入违法“三要素”
- 风险运营内容提醒
- 关于合法使用海诚商城系统的声明!
- 腾讯第三方平台
- 微信公众号
- 准备资料
- 如何申请微信公众号
- 公众号群发文章
- 微信小程序
- 小程序概述
- 申请认证资料
- 快速申请认证小程序
- 微信开放平台
- 准备资料
- 微信开放平台申请认证(新版)
- 开放平台之创建应用
- 开放平台申请微信支付
- 微信支付商户平台
- 申请微信支付商户(新版)
- 如何开启或关闭企业付款到零钱功能
- 如何开通企业付款到个人银行卡功能
- 企业付款到个人银行卡的常见问题
- 支付商户如何查看站内消息通知
- 系统第三方平台
- 阿里云
- 阿里云注册
- 阿里云企业实名认证
- 短信
- 购买短信套餐
- 短信签名模板添加
- 短信对接云商城
- 域名
- 资料准备
- 购买域名
- 域名实名认证
- 域名ICP备案
- 备案概述
- 备案资料准备
- 开始备案pc端
- 服务器CES
- 服务器ECS购买(标配配置)
- 余额充值
- 数据库RDS
- 数据库RDS购买(标配配置)
- SSL证书
- ssl证书购买
- ssl证书申请
- ssl证书部署
- OSS对象存储
- 创建Buckets
- oss对接云商城后台
- oss对象存储如何上传文件或视频
- 获取oss秘钥
- 腾讯云
- 带货直播腾讯云相关费用说明
- 腾讯云短信对接
- 快递鸟
- 快递鸟账号注册认证
- 快递鸟对接云商城
- 苹果开发者账号
- 资料准备
- 注册苹果开发者账号(企业账号)
- 好推(app下载链接合二为一)
- 安卓百度移动开放平台
- 准备资料
- 注册百度移动开放平台(企业)
- 支付宝
- 支付宝账号概述
- 准备资料
- 企业账号注册
- 个人账号注册
- 后台登录操作
- 自定义菜单
- 自动回复
- 平台框架
- 云商城更新日志
- 20200529更新,更新版本2.3.61
- 20200605更新,更新版本2.3.63
- 云商城框架
- 海诚系统框架
- 海诚系统对接
- 微信公众号如何接入系统
- 小程序如何接入系统
- 微信支付如何接入系统
- 支付宝如何接入系统
- 商品
- 发布商品
- 商品描述
- 属性
- 商品规格
- 表单
- 营销
- 消息通知
- 分享关注
- 权限
- 折扣
- 配送
- 优惠卷
- 限时购
- 商品标签
- 邀请页面
- 服务提供
- 区域分红
- 代理商设置
- 换货券设置
- 分销
- 信用值
- 自定义表单
- 消费积分
- 等级返现
- 爱心值
- 会员价设置
- 招商分红
- 我的小店分红
- 自提点
- 业绩奖励
- 积分活动奖励
- 每日红包
- 主播分红
- 共享链
- 股东分红
- 消费赠送
- 经销商提成
- 课程管理
- 虚拟卡密
- 商品列表
- 商品表单
- 商品分类
- 品牌管理
- 配送模板
- 评论管理
- 优惠卷管理
- 优惠卷列表
- 领取发放记录
- 分享领取记录
- 购物送卷
- 购物分享送卷
- 商品标签
- 退换货地址管理
- 满额优惠
- 批量操作
- 商品、优惠券常见问题
- 会员
- 全部会员
- 添加会员
- 操作
- 会员详情
- 收入详情
- 会员订单
- 充值积分
- 充值余额
- 推广下线
- 团队下线
- 推广上线
- 设置黑名单
- 银行卡管理
- 收货地址管理
- 会员等级
- 添加新等级
- 会员分组
- 添加新分组
- 关系设置
- 资格申请
- 推广中心设置
- 会员邀请码
- 会员常见问题
- 订单
- 订单视频讲解
- 全部订单
- 导出直推EXCEL(经销商)
- 导出excel
- 查看详情
- 退款并关闭订单
- 确认发货
- 退换货订单
- 待支付订单
- 待发货订单
- 待收货订单
- 已完成订单
- 已关闭订单
- 支付异常订单
- 支付回调异常订单
- 退换货订单
- 已退款
- 批量发货
- 订单常见问题
- 应用
- 分润类
- 推客
- 推客视频讲解
- 推客功能讲解
- 分销设置
- 分销等级
- 分销商管理
- 分销订单管理
- 招商
- 招商中心管理
- 招商员管理
- 招商申请
- 招商中心分红
- 招商员分红
- 招商中心 等级
- 招商员等级
- 基础设置
- 微店
- 微店管理
- 微店等级
- 分红记录
- 图片轮播
- 微店基础设置
- 区域分红
- 区域分红讲解
- 分红设置
- 区域代理管理
- 区域代理申请
- 区域分红记录
- 区域代理商家独立后台
- 手动分红
- 手动分红功能讲解
- 手动分红基础设置
- 手动分红记录
- 分红明细
- 股东分红
- 股东分红功能说明
- 股东分红记录
- 股东分红基础设置
- 经销商管理
- 经销商会员管理
- 经销商等级
- 激活码记录
- 提成明细
- 红包奖励记录
- 经销商基础设置
- 感恩奖
- 平级奖
- 额外奖励
- 行业类
- 酒店
- 酒店前后端功能汇总展示
- 酒店分类
- 酒店申请
- 酒店列表
- 酒店商品
- 酒店订单
- 收银台订单
- 酒店提成明细
- 酒店 统计
- 幻灯片
- 酒店基础设置
- 租赁
- 租赁功能
- 基础设置
- 押金管理
- 归还地址
- 租期设置
- 等级权益
- 租赁商品
- 订单管理
- 微社区
- 帖子管理
- 分类管理
- 打赏记录
- 敏感词管理
- 微社区基础设置
- 会务活动
- 会务活动管理
- 会务活动基础设置
- 视频点播
- 视频点播基础设置
- 幻灯片管理
- 导航管理
- 讲师管理
- 讲师分红
- 添加课程章节
- 聚合供应链
- 聚合供应链基础设置
- 商品导入
- 聚合供应链商品列表
- 订单列表
- 推送信息
- 单品风控
- 导入分类
- 云仓设置
- 云仓管理
- 供应商管理
- 供应商会员管理
- 供应商申请
- 供应商全部订单
- 供应商待发货订单
- 供应商待支付订单
- 供应商待收货订单
- 供应商已完成订单
- 供应商已关闭订单
- 供应商退换货订单
- 供应商已退款订单
- 供应商商品
- 供应商提现
- 供应商基础设置
- 供应商保单管理
- 门店收银台
- O2O门店流程及前端介绍
- 门店分类列表
- 门店申请
- 门店有效期
- 门店商品
- 门店订单
- 门店核销员
- 老板提成明细
- 订单提成明细
- 门店-收银台统计
- 门店幻灯片
- 门店广告
- 门店-基础设置
- 门店-默认设置
- 门店列表
- 门店预约
- 门店预约功能概述
- 项目分类管理
- 项目管理
- 技师管理
- 商品管理
- 门店预约—订单管理
- 收益管理
- 会员项目管理
- 预约管理
- 门店预约—评论管理
- 门店预约—幻灯片
- 门店管理—设置
- 名片
- 基础设置
- 名片管理
- 自提点
- 自提点概述
- 自提点管理
- 申请列表
- 提成明细
- 基础设置
- 自提点独立后台
- 店铺助手
- 营销类
- 新海报
- 海报管理
- 扫码记录
- 奖励记录
- 添加海报
- 权限设置
- 推送设置
- 奖励设置
- 通知设置
- 分销设置
- 海报常见问题
- 爱心值
- 爱心值管理
- 定期充明细
- 爱心值明细
- 爱心值交易
- 充值记录
- 激活记录
- 返现记录
- 分红统计记录
- 基础设置
- 充值设置
- 奖励设置
- 激活设置
- 交易设置
- 返现设置
- 提现设置
- 消息设置
- 分红统计设置
- 信用值
- 排行榜
- 聚合供应链
- 聚合供应链常见问题
- 聚合供应链设置
- 广告市场
- 文章营销
- 基础设置
- 文章管理
- 文章分类
- 文章发布
- 早起打卡
- 早起打卡早起打卡功能概述
- 早起打卡设置
- 分享设置
- 规则说明
- 消费返现
- 消费返现讲解说明
- 消费返现设置
- 消费返现队列
- 消费返现记录
- 拼团活动
- 拼团功能讲解
- 发布拼团活动
- 活动列表
- 订单管理
- 退换货订单
- 已退款订单
- 基础设置
- 拼团奖励
- 固定奖励
- 固定奖励设置
- 固定奖励队列
- 固定奖励记录
- 满额赠送
- 满额赠送队列
- 冻结队列列表
- 满额赠送记录
- 日志
- 满额赠送设置
- 商品套餐
- 套餐管理
- 添加套餐
- 基本信息
- 分享设置
- 幻灯片
- 套餐描述
- 素材中心
- 素材列表
- 素材设置
- 智能画册
- 画册管理
- 价格权限
- 价格权限设置
- 每日红包
- 基础设置
- 每日红包记录
- 领取记录
- 红包额度管理
- 红包额度记录
- 拓客活动
- 创建活动(总平台活动)
- 门店拓客活动
- 积分签到
- 积分签到设置
- 分享设置
- 积分签到规则
- 通知设置
- 消费赠送
- 任务奖励
- 任务奖励设置
- 活动管理
- 视频分享
- 发现管理
- 分红记录
- 基础设置
- 幸运大抽奖
- 幸运大抽奖简述
- 添加活动
- 转发宝
- 转发宝活动列表
- 转发宝基础设置
- 案例库
- 案例库基础设置
- 案例管理
- 案例分类
- 专题管理
- 新人奖
- 功能概述
- 创建活动
- 门店股东
- 社区接龙
- 订单飘窗
- 标签服务
- 工具类
- 打印机
- 添加打印机
- 小程序
- 小程序申请与接入
- 小程序发布
- 快递助手
- 快递及面单打印
- 快递单模板管理
- 发货单模板管理
- 发件人信息管理
- 电子面单管理
- 打印设置
- 商品助手
- 商品导入
- 淘宝商品导入
- csv上传
- 帮助中心
- 帮助管理
- 基础设置
- 订单导入
- 订单导入
- 多打印机
- 小程序直播
- 如何开通小程序直播(新版)
- 小程序直播配置
- 小程序直播说明
- 小程序直播添加商品
- 自定义表单
- 链接工具
- 链接列表
- 商品排行
- 功能概述
- 商品排行基础设置
- 榜单分类
- 榜单管理
- 物流公司导入
- 语言设置(首页、分类、推广、购物车、会员中心)
- 地址管理
- 禁运地区
- 自定义交易组件
- 自定义交易组件对接
- 视频号直播间
- 财务
- 余额设置
- 会员余额
- 充值记录
- 转让记录
- 余额明细
- 收入明细
- 提现设置
- 提现统计
- 提现记录
- 积分管理
- 转账审核
- 收益广告
- 批量充值
- 财务常见问题
- 统计
- 会员数据统计
- 会员关系统计
- 会员订单排行
- 手机归宿地统计
- 订单分润
- 交易额统计
- 商家收入统计
- 平台收益列表
- 平台手机统计
- 会员收入统计
- 手续费/劳务税汇总
- 积分数据统计
- 余额数据统计
- 赠送优惠卷统计
- 商品销售统计
- 会员一二级团队统计
- 系统
- 商城入口
- 商城设置
- 设置
- 会员
- 订单
- 分类
- 联系方式
- 短信
- 优惠卷
- 分享
- 幻灯片
- 广告位
- 会员资料表单
- 注册协议
- 物流查询
- 物流查询-芸签
- 交易设置
- 支付方式
- 消息提醒
- 微信模板管理
- 小程序消息模板
- 自定义模板管理
- 语言设置
- 分销设置
- 消费赠送设置
- 经销商奖励设置
- 满额赠送设置
- 经销商管理设置
- 区域代理设置
- 门店收银台设置
- 收入提现设置
- 角色管理
- 操作员
- 操作日志
- 装修DIY
- 装修DIY模板管理
- 店铺页面
- 顶部导航
- 底部菜单
- 模板市场
- 装修DIY首屏广告
- 装修DIY基础设置
- 装修
- 模板管理
- 店铺装修
- 会员中心装修
- 顶部菜单
- 底部导航
- 小程序导航
- diy模板市场
- 首屏广告
- 小程序
- 手动发布
- 基础设置
- 小程序数据助手
- 小程序发布1.0
- 小程序常见路径
- 问题类
- 下级购买商品为什么上级没有获得佣金?
- 不同的分销商要如何拿到不同的佣金比例?
- 转发小程序给下级时,为什么后台显示的是总店?
- 可以在小程序上长按识别二维码吗?
- 视频点播讲师分红如何计算
- 视频点播讲师分红是否可以关闭,或者不要讲师分红计算佣金
- 商品下单时没有要求填写地址怎么处理。
- 后台如何给会员冲减积分或余额
- 订单如何修改价格?
- 如何在后台修改分销商等级
- 腾讯云对象存储 COS 服务如何上传视频或文件
- 制作添加自动回复功能
- 制作添加自定义菜单功能
- 如何更改分销一二级的前端下级名称
- 门店如何设置客服?
- 门店商品支持哪几种分润方式?
- 门店核销员如何添加,核销员作用是?
- 如何设置订单完成后多少天允许退款?
- 如何在后台修改会员等级
- 如何更改海报底图
- 门店如何登录门店的独立后台
- 门店上传产品有几种方式
- 消费者如何操作申请退换货操作
- 微信支付api证书如何续期
- 分销我的客户显示明细
- 转账到支付宝账户(支付宝提现)接口升级如何对接?
- 如何修改会员上级推荐人
- 系统如何对接qq客服
- 如何对接企业微信客服
- 对接带货直播在腾讯云上涉及到哪些费用?
- 企业微信
- 企业微信注册
- 企业微信认证
- 企微管家SCRM对接
- 企微管家SCRM对接侧边栏
- 企业视频号注册
- 系统更新日志
- 视频