一、功能描述:
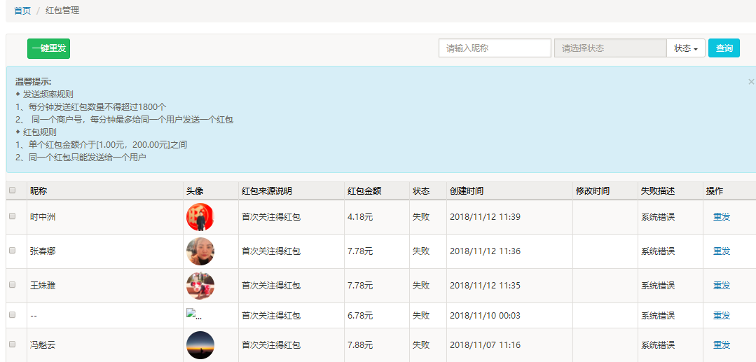
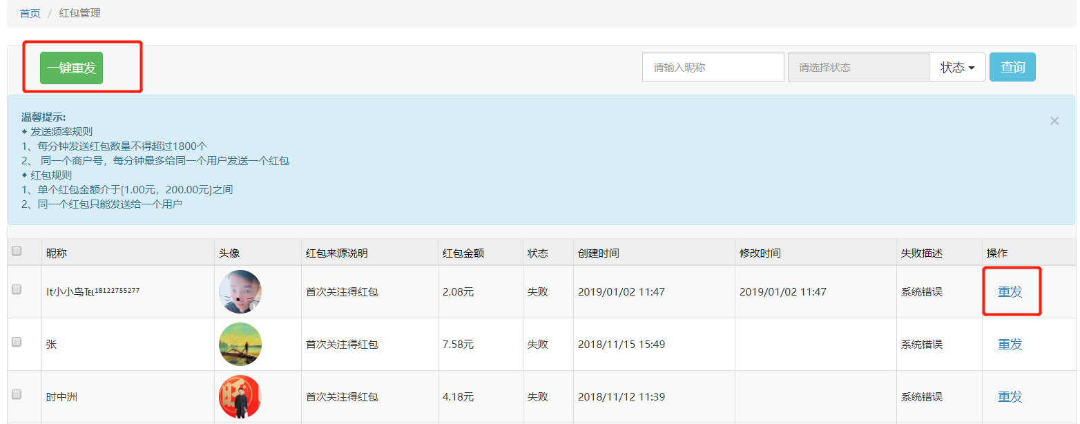
对于商家需要发送给平台会员的所有抽奖、任务宝等活动的奖励红包,在红包管理菜单中都会有记录,记录的分别是:获得红包的会员的昵称、头像,红包的来源,红包的金额,红包发送的状态,第一次发送红包的时间,对于状态中显示“失败”的红包会录入一个“失败描述”,并且在操作中会有一个“重发”的按钮,可以再次发送红包给用户,发送成功之后会记录一个“修改时间”。
使用此功能,微信支付平台—产品中心—开通了“现金红包”的功能(这个功能需要微信支付平台开通满90天,并且后30天要有连续不间断的流水交易才可开通)。
功能路径:
【财务】—【资金管理】—【红包管理】

二、操作流程:
1.点击聚宝赞后台—财务—红包管理,可以查看发送红包的状态(主要针对于任务宝/红包推广/积分兑换红包的活动发放):

\*发送频率规则:
A.每分钟发送红包数量不得超过1800个;
B.同一个公众号,每分钟内最多给同一个用户发送一个红包;
\*红包规则:
A.单个红包金额介于\[1.00元,200.00元\]之间;
B.同一个红包只能发送给一个用户;
2、对于发送失败的红包会记录失败原因,可批量“一键重发”或“单个用户重发”;

用户手机端展示页面:

- 运营起盘规划
- 一、运营起盘规划
- 二、运营阶段指标
- 三、商城搭建规范
- 3.1、商品发布规则
- 3.2、商城搭建规范
- 3.3、商城首页如何设计
- 3.4、商品详情页设计
- 后台功能概述
- 一、产品概述
- 1.2、产品功能架构
- 1.3、产品应用场景说明
- 解决方案一:
- 解决方案二:
- 1.4、产品相关商家案例
- 案例一:
- 案例二:
- 案例三:
- 案例四:
- 成功案例汇总
- 二、新手上路
- 2.1、新手上路-入门篇
- 2.2、新手上路-进阶篇
- 2.3、微信公众号申请认证
- 2.4、微信支付申请审核
- 2.5、微信支付配置-自有
- 2.6、微信公众号迁移主体
- 2.7、微信开放平台申请
- 三、概况
- 四、门店
- 五、商品
- 5.1、商品库
- 5.1.1、商品管理
- 5.1.2、商品分组
- 5.1.3、跨境电商
- 5.1.4、商品管理(New)
- 5.2、礼包商品
- 5.2.1、礼包商品管理
- 5.2.2、礼包商品收益配置
- 5.2.3、礼包商品首页
- 六、店铺
- 6.1微页面
- 6.2 店铺导航
- 6.2.1小程序店铺
- 6.2.2悬浮窗
- 6.3 素材管理
- 6.4 风格设置
- 七、收益
- 7.1收益概述
- 7.2收益配置
- 7.2.1不计收益
- 7.2.2会员云仓
- 7.2.3抵扣商品收益
- 7.2.4指定金额收益
- 7.2.5等级收益
- 7.2.6复购收益
- 7.2.7收益规则
- 7.2.8收益配置
- 7.2.9推广海报
- 7.3经销商
- 7.3.0平台分红
- 一、概述
- 7.3.1店主收益
- 7.3.2会员直推奖励
- 7.3.3区域收益
- 7.3.4团队阶梯奖励
- 7.3.1经销商收益配置
- 7.3.2经销商员工管理
- 7.3.3经销商商品收益
- 7.3.4经销商销售额统计
- 7.3.5经销商推荐配置
- 基础推荐收益开启之后(未开启多级基础推荐收益),最多往上分三级,推荐奖计算方式:
- 7.3.6经销商推荐关系
- 7.3.7经销商推荐收益
- 7.3.8经销商复购配置
- 7.3.9业务员门店配置
- 7.3.10门店收益
- 7.3.11派送员收益
- 7.4销售员
- 7.4.1推广收益统计
- 7.4.2销售员管理
- 7.4.2.1 新增团长数据统计
- 7.4.3海报生成数
- 7.4.4销售额统计
- 7.4.5销售员绩效统计
- 7.4.6会员注册
- 7.4.7会员推广监测
- 7.5服务收益
- 7.5.1培训收益提成
- 7.5.2门店服务提成
- 在【收益】—【服务收益】—【门店服务提成】,点击“添加”的按钮,设置门店提成方案;
- 八、客户
- 8.1、SCRM简述
- 8.2、客户管理
- 8.2.1、会员管理
- 二、会员详情
- 三、为会员打标签
- 8.2.2、会员等级
- 二、新建会员等级
- 三、会员升级设置
- 四、权益设置
- 8.2.3、粉丝管理
- 二、粉丝标签
- 8.2.4、标签管理
- 二、自动标签
- 三、手动标签
- 四、自定义标签开关
- 8.2.5、话术管理
- 二、添加分组
- 三、添加话术
- 九、订单
- 9.1、订单概述
- 9.2、订单处理
- 9.2.1、交易设置
- 9.2.2、运费模板设置
- 9.2.3、退货维权设置
- 9.2.4、批量发货
- 9.2.5、菜鸟驿站对接聚宝赞发货流程
- 9.2.6、发货员管理
- 9.3.7、活动订单
- 9.3、交易查询
- 9.3.1、订单结算列表
- 9.3.2、订单查询
- 9.3.3、手动抓单
- 9.3.4、手工订单
- 9.3.5、置换订单
- 9.3.6、订单统计分析
- 9.3.7、订单支付同步
- 十、营销
- 10.1促销
- 10.1.1 优惠券
- 10.1.2 优惠码
- 10.1.3 满减满送
- 10.1.4 日历签到
- 10.1.5 N元N件
- 10.1.6 高级表单
- 10.1.7 秒杀
- 10.1.8 抽奖活动
- 10.1.9 社群团购
- 10.2.0 拼团
- 10.2 红包推广
- 10.3 名片
- 10.4 积分中心
- 10.4 .1积分全返
- 10.4.2 积分获取规则
- 10.5 直播中心
- 10.5.1直播OBS推流操作
- 10.6 微信社群
- 10.7 短信群发
- 10.8 微信扫码核销
- 十一、数据
- 11.1、数据概况
- 11.2、数据看板
- 11.3、优惠券使用明细
- 十二、批发
- 12.1、预付货款模式
- 12.1.1、模式设置和操作流程
- 12.1.2、配置详细介绍
- 12.1.3、代理管理
- 12.2、S2B2C会员批零兼营云仓模式
- 12.2.1、模式设置和操作流程
- 12.2.2、配置详细介绍
- 12.2.3、代理管理
- 12.2.4、库存管理
- 十三、财务
- 13.1.1、资金管理
- 13.1.1.1、提现管理
- 13.1.1.2、提现设置
- 1、打开后台财务—资金管理—提现设置—勾选提现支持方式,支持五种提现方式(微信转账/支付宝/银行卡转账/个人微信号转账/工资代发);
- 2、设置提现额度分阶段付款
- 3、提现个人所得税配置
- 4、提现条件配置
- 5、提现门槛及提现提示信息设置
- 6、实时结算、自动打款(只针对微信和支付宝打款的方式生效)
- 7、提现校验
- 2、薪龙网对接
- 13.1.1.3、预存款管理
- 13.1.1.4、红包管理
- 13.1.1.5、任务奖励
- 13.1.1.6、代理账户管理
- 1、进入财务—代理账户管理页面查看全平台货款数据。
- 2、进入财务—代理账户管理—预付货款页面,商家可查看每个代理商的会员编号、会员头像、会员昵称、会员等级、预付货款、我的充值、销售扣除、我的转现、销售回款等数据,支持导出(注:会员编号只能精确查询,会员昵称可模糊查询。)
- 3、进入财务—代理账户管理—充值记录页面,商家可查看每个代理商的会员编号、会员头像、会员昵称、会员等级、充值金额、获得货款、充值时间、充值方式、充值人、备注等数据,支持导出(注:可选择充值方式进行查询,会员编号只能精确查询,会员昵称可模糊查询,时间段也是模糊查询)。
- 4、进入财务—代理账户管理—销售扣除页面(销售扣除为代理或者下级在商城购买扣除代理货款的记录),商家可查看每笔订单的收益人、收益人头像、订单号、下单人、销售扣除、付款时间等数据,支持导出。(注:订单号、收益人编号只能精确查询,收益人昵称、时间段都可模糊查询。已退款的订单记录会删除,将不在此页面显示)
- 5、进入财务—代理账户管理—转现分货页面,商家可查看每次转现分货操作中收益人、收益人头像、转现人、转现发货、时间等数据,支持导出(注意:第一个受益人会员编号或会员昵称查询输入框,可实现收益人会员编号精确查询与收益人会员昵称模糊查询;第二个转现人会员编号或会员昵称查询输入框,可实现转现人会员编号精确查询与转现人会员昵称模糊查询;时间段可实现模糊查询)。
- 6、进入财务—代理账户管理—销售回款页面,商家可查看每笔订单的收益人、收益人头像、订单号、下单人、销售回款、付款时间、状态等数据。(注:订单号、收益人编号只能精确查询,收益人昵称、时间段可模糊查询。已退款的订单记录会删除,将不在此页面显示)
- 7、进入财务—代理账户管理—保证金转现记录页面,可查看到代理缴纳保证金记录,支持导出**。**
- 8、各页面导出的excel表格展示
- 13.1.1.7、业绩奖励
- 1、业绩奖励配置
- 2、业绩奖励明细
- 3、业绩奖励发放
- 4、业绩奖励报表
- 13.1.2、账户查询
- 13.1.2.1、企业付款查询
- 1、聚宝赞后台—财务—企业付款查询;
- 13.1.2.2、支付交易记录
- 1、聚宝赞后台—财务—账户查询—支付交易记录,可通过不同条件进行搜索查询;
- 2、支持交易记录导出:
- 13.1.2.3、代理剩余货款
- 【财务】—【账户查询】—【代理剩余货款】
- **二、操作流程:
- 1、聚宝赞后台—财务—账户查询—代理剩余货款,可通过不同条件进行搜索;
- 2、支持导出代理剩余货款数据;
- 3、代理货款不足时,可通过代理剩余货款—代理货款不足查看代理相关数据,支持导出表格。
- 13.1.3、对账单
- 13.1.3.1、佣金统计
- 【财务】—【对账单】—【佣金统计】
- **二、操作流程:
- 1、聚宝赞后台—财务—对账单—佣金统计—月度佣金统计,可按月查看销售额及佣金数据:
- 2、聚宝赞后台—财务—对账单—佣金统计—月度产品佣金统计:
- 13.1.3.2、零售收益对账
- 13.1.3.3、卡券核销对账
- 【财务】—【对账单】—【卡券核销对账】
- 1、在财务—对账单—卡券核销对账中,可通过不同条件查看卡券核销的相关信息;
- 13.1.3.4、收益回款对账
- 【财务】—【对账单】—【收益回款对账】
- 1、在财务—对账单—收益回款对账中,可通过不同条件进行筛选查看;
- 13.1.3.5、团队销售统计
- 1.路径:聚宝赞后台--财务--对账单--团队销售统计
- 2.说明:可以通过下级团队、平级团队进行明细统计查询,可帮助商家深度了解商城会员团队销售情况。
- 3.后台功能说明
- 13.1.4、商家奖励
- 13.1.4.1、供应商进件
- 13.1.4.2、代理进件
- 13.1.4.3、奖励设置
- 13.1.4.4、奖励成员
- 13.1.4.5、奖励记录
- 十四、培训
- 功能描述
- 14.1、课程中心
- 14.1.1、课程
- 用于编辑课程、专栏、讲师、内容包和年卡的具体信息。
- 1、点击新建课程,编辑课程信息。
- 2、依次填写课程名称、副标题、讲师、课程封面、课程介绍、商品信息、辅助设置,点击下一步编辑课程内容。
- 3、课程内容支持视频课件、音频课件和图文课件,点击保存。
- 4、保存成功之后课程出现在课程页面。
- 5、搜索课程:可以通过筛选状态和课程名称来快速找到想要的课程。
- 14.1.2、专栏
- 新增和编辑管理专栏,专栏可以集合不同的课程,类似于商城的礼包。
- 1、点击新建专栏,依次填写专栏名称、副标题、讲师、专栏封面、专栏介绍、商品信息和辅助设置后点击保存。
- 2、点击保存后,专栏出现在专栏列表,可以进行内容管理、上架、编辑和分享。
- 14.1.3、讲师
- 新增和编辑讲师,讲师为课程的主讲人。
- 1、点击新建讲师,依次填写讲师名称、摘要、讲师头像、联系电话、微信号、讲师介绍后的点击保存。
- 2、新增的讲师出现在讲师列表,可以再次编辑内容、删除操作。
- 14.1.5、内容包
- 内容包主要是结合客户—会员权益进行使用,升级到对应会员等级之后,可获得内容包,用户即可听取内容包里边的课程/专栏内容;
- 1、新建内容包
- 2、设置好内容包之后,在客户—会员等级—设置会员权益时可以选择添加内容包:
- 14.1.6、年卡
- 年卡主要是针对会员提供的有时间周期性的知识内容服务。
- 1、在培训—课程中心—年卡—新建年卡课程;
- 2、年卡关联课程/专栏
- 3、年卡关联内容包,在内容包菜单中新建一个内容包,作为会员升级条件的礼包;
- 4、培训—微页面,添加知识付费商品时可以选择“年卡”;
- 5、客户—会员管理—年卡/内容包关联会员等级,在配置升级奖励时勾选知识付费内容包,就可以关联上这个等级;
- 14.1.7、投诉举报
- 14.2、素材库
- 新增和编辑素材,素材用于专栏和课程的配图、内容等。
- 1、素材库管理:支持图片/音频/视频素材,可进行分组管理
- 14.3、店铺管理
- 14.3.1、微页面
- 新增和编辑管理商城页面,方便商家宣传课程活动等。
- 1、新建微页面,编辑好的微页面可以设置为主页(主页只能设置1个),支持编辑/分享/删除。
- 2、多组件支持自定义店铺
- 14.4、虚拟币管理
- 14.4.1、账户管理
- 新增和查看、管理用户信息
- 1、点击账户管理,跳转到用户管理页面。
- 2、可以通过会员编号、昵称和手机号来查询用户。
- 14.4.2、充值规格
- 新增和编辑管理培训的充值规格
- 1、点击【培训】—【拟币管理】—【充值规格】,跳转页。
- 2、新增虚拟币重置规格,设置虚拟币名称,一旦设置,不能更改。
- 14.4.3、充值记录
- 新增和管理培训课程、专栏的交易记录,包括用户的充值和消费,查看订单记录和订单详情。
- 14.5、营销中心
- 通过营销活动推广课程,目前只支持邀约解锁一项活动,后续会开放更多活动。
- 1、点击【新建邀约解锁】,依次填写活动名称、生效时间、选择课程、邀约人数、奖励设置,点击确定
- 十五、设置
- 基础设置
- 15.1店铺信息
- 15.2系统配置
- 15.2.1 客服配置-支持小程序
- 15.2.2 客服配置-对接小芝麻客服
- 15.2.3 手机号绑定设置
- 15.2.4 数据中心
- 15.3消息推送
- 15.4微盟授权
- 15.4.1微盟用户同步
- 15.5微信授权
- 15.7微信菜单
- 15.6小程序授权:包含商家的授权信息
- 15.8账号管理
- 15.9等级设置
- 15.10小鹅通授权
- 15.11模板消息
- 15.12自定义模板
- 15.13站内信
- 15.14毛利分佣
- 操作日志
- 第三方管理
- 京东授权
- 旺店通订单同步
- 管易订单同步
- 管易商品同步
- e店宝信息同步
- 短信服务
- 开通国际短信
- 实名认证
- 十六、供货商系统
- 常用问题解答
- 1、关系绑定
- 2、财务
- 2.1、提现周期
- 2.2、微信打款
- 2.3、银行卡/个人微信转账
- 3、店铺
- 3.1、店铺导航
- 3.2、小程序悬浮窗
- 4、订单
- 4.1、订单查询
- 4.2、订单区分
- 4.3、物流查询
- 4.4、订单发货
- 4.5、订单退款
- 4.6、退货退款
- 4.7、订单结算列表
- 4.8、订单分佣
- 4.9、订单纠错
- 4.10、确认收货
- 4.11、绑定用户
- 5、商品
- 5.1、商品海报
- 5.2、商品库存
- 5.3、购物车
- 5.4、商品限购库存
- 5.5、商品导入
- 6、收益
- 6.1、等级设置
- 6.2、推广海报
- 6.3、等级海报
- 6.4、销售员管理
- 7、销售员
- 7.1、销售额统计
- 7.2、销售员绩效统计
- 8、经销商
- 8.1、经销商用户调整
- 8.2、经销商推荐关系
- 8.3、经销商推荐奖励
- 8.4、新会员加入通知
- 8.5、团队数据查看
- 9、营销
- 9.1、优惠券
- 9.2、任务宝
- 9.3、积分中心
- 9.4、微信社群
- 10、小程序
- 10.1、订单锁粉
- 10.2、小程序开户
- 10.3、小程序商城
- 11、直播
- 12、个人中心
- 13、设置
- 13.1、店铺信息
- 13.2、系统授权
- 13.3、模板消息
- 13.4、账号管理
- 14、批发
- 14.1、预付货款
- 14.2、代理推荐奖励
- 14.3、货款扣除
- 14.4、代理审核
- 14.5、代理充值
- 14.6、批发模式
- 15、微信支付
- 15.1、付款限额
- 15.2、企业付款到零钱
- 15.3、微信支付风控
- 15.4、微信支付避税
- 15.5、微信支付报错
- 16、用户迁移
- 17、第三方对接
- 18、苹果APP
- 新功能介绍
