# 商家-菜鸟账号注册
## 一、商家授权
1、商家注册一个自己的菜鸟账号,注册账号链接https://dayin.cainiao.com/miandan/subscribe/subscribe.htm?isNeedPrompt=
2、进入新零售商家- 门店后台,点击电子面单--设置 进行扫码授权

## 二、商家申请电子面单服务
1 、创建订购关系
(1)使用注册的商家菜鸟账号登录电子面单管理中心
[https://dayin.cainiao.com/miandan/subscribe/subscribe.htm?isNeedPrompt=](https://dayin.cainiao.com/miandan/subscribe/subscribe.htm?isNeedPrompt=)
(2)在“创建订购关系”模块下申请电子面单服务:
* 选择发货地址
* 选择快递公司
* 选择网点地区
* 选择网点
* 填写联系人姓名、电话
* 
* (3)提交完成后,联系当地快递公司网点进行审批。
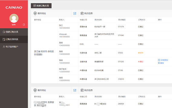
2 、订购关系列表
在“订购关系列表”中,管理订购关系。

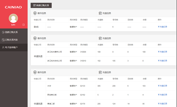
3、电子面单账户
在“电子面单”账户中,可查看电子面单账户的余额情况。(注意:需要当地快递公司给商家的菜鸟账户充值余额)
备注:直营快递公司无电子面单余额,只有加盟快递公司才有电子面单余额。
* 
*
