# 订单管理
[](https://s.qiniu.com/yYJVNj)
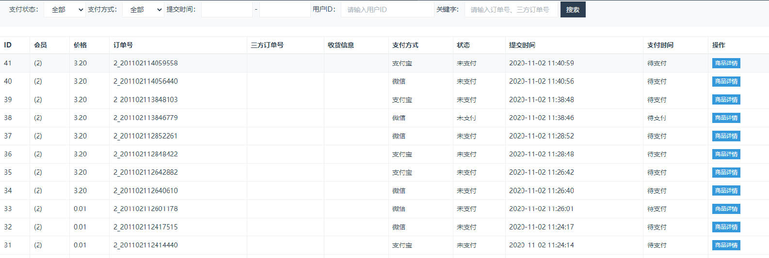
## **订单管理**
用户购买的套餐和课程,订单详情会显示在订单管理中,含教材的会显示用户的收货地址,不含教材仅线上支付观看的则不显示收货地址
订单列表内展示ID、会员、价格、订单号、三方订单号、收货信息、支付方式、支付状态、提交时间、支付时间按额、支付状态、订单状态、下单时间,可对未发货的订单进行操作处理

——三方订单号:
支付成功时会显示三方支付的订单号,未支付或支付失败则不会显示
——支付时间:
支付成功后会显示付款时间,未支付则显示待支付
——商品详情:
可查看用户购买的哪些套餐/课程
——标记发货:
含教材的需要填写收货地址的用户订单可以标记是否发货,然后在线下给用户寄教材
[](https://s.qiniu.com/EfUj6z)
- 项目介绍
- 功能对比表
- 新版web端-直播间vue搭建说明【重要】
- 搭建要点汇总【重要】
- 配置NodeJS(聊天服务器)【新版】
- 注意事项与常见问题
- 常见问题
- uniapp加载不出数据
- php版本引发的报错汇总
- 配置云存储后,uni前端不展示
- 常见错误整理
- phal框架相关
- 学生端登录后进入直播间,提示登录失效
- thinkphp相关
- 网站伪静态地址问题
- 教师开播时找不到摄像头
- 网站首页卡在载入界面不能操作的问题
- redis相关
- redis相关问题统一解决办法
- uni-app相关
- uni-app控制台报错的一般解决办法
- 正常配置后,本地推流失败
- 后台web端部署流程
- 安装
- 框架信息配置
- thinkphp部分
- phalapi部分
- node.js部分
- socket配置
- SSL证书申请
- PC讲师端操作文档
- 登录
- 首页
- 左侧菜单栏
- 直播课堂
- 账号
- 后台操作文档
- 首页
- 左侧菜单栏
- 设置
- 网站信息
- 私密设置
- 幻灯片管理
- 上传设置
- 文件存储
- 用户管理
- 管理组
- 角色管理
- 管理员
- 用户列表
- 教师列表
- 插件中心
- 内容管理
- 文章管理
- 分类管理
- 订单管理
- 知识管理
- 学级分类
- 付费内容列表
- 大班课列表
- PC学生端操作文档
- 首页
- 直播课堂
- 精选内容
- 个人中心
- 年级选择
- 我的课程
- 账号设置
- 我的消息
- 选课中心
- 三方配置
- 声网sdk音视频
- 七牛云储存sdk
- 腾讯云短信配置
- 支付宝配置
- 微信支付配置
- uniapp部署流程
- 安装
- 配置
- 编译发行
- h5
- 小程序
- 安卓
- ios
