
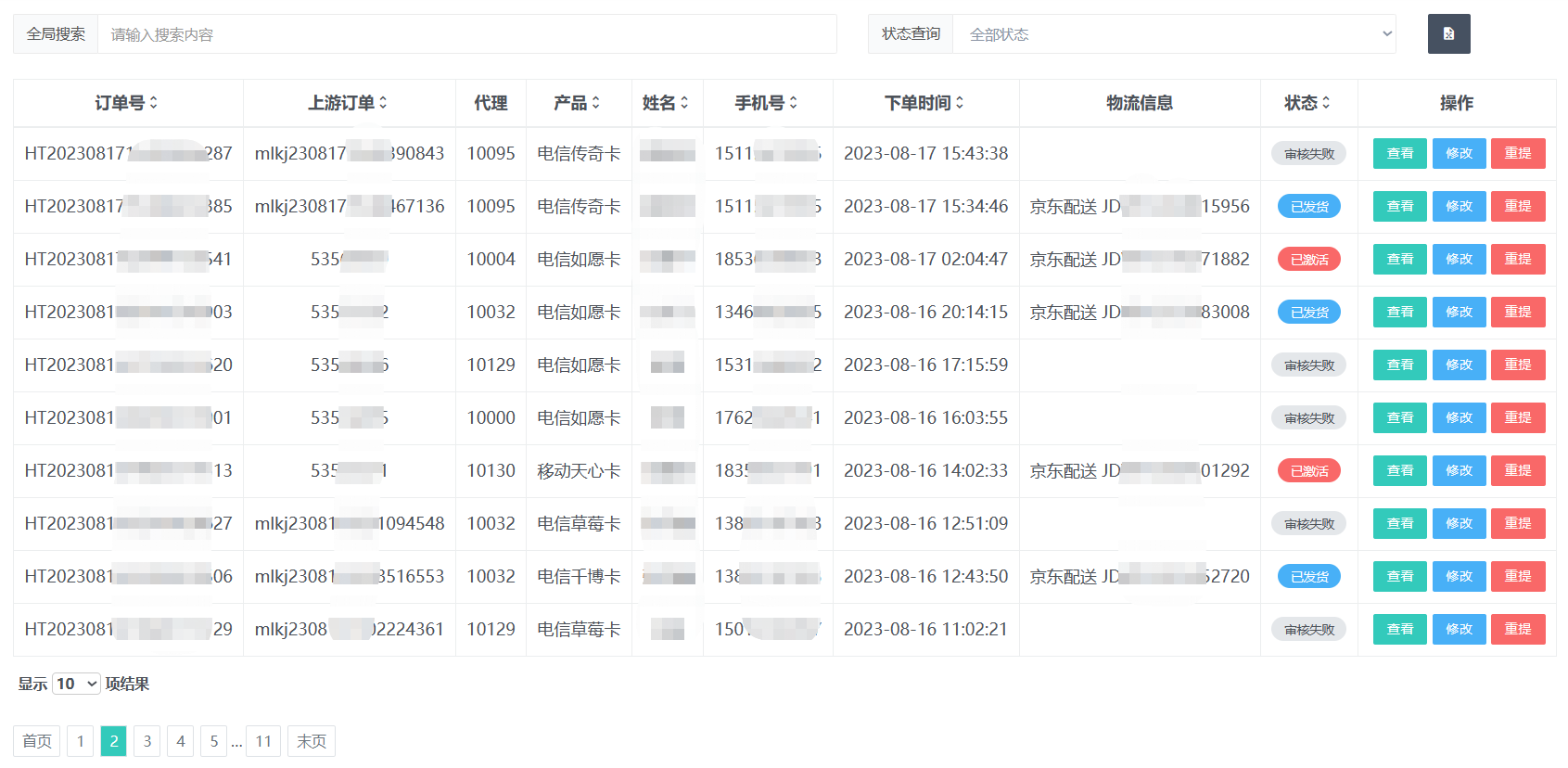
订单列表展示平台所有订单,包括本地订单号、那个代理商推广的订单、下单产品、下单人的相关信息及物流,订单状态。
物流信息:如是对接产品,则会自动更新物流信息,如自营产品,则可点击修改物流信息。
订单操作:修改支持手动修改订单物流信息、备注、状态等。
重提,可以修改订单信息重新向对接平台提交订单,目前仅支持敢探号!
### **订单状态说明**:
* 待处理:自营产品下单后默认为此状态。
* 已提交:对接产品下单后默认为此状态。
* 已发货:对接平台发货后会自动更新为此状态,自营产品需手动操作。
* **已激活**:用户收到货后已激活,对接平台会反馈自动更新此状态,**同时会为订单对应的所有代理商(包括各级代理的抽成)添加一条预估收入的财务记录**。如果是自营产品,当手动更新到此状态时,也会为订单对应的所有代理商添加财务记录。
* 审核失败:此状态为对接平台审核不通过自动反馈更新此状态,代表订单无法发货。
* 订单终止:订单因不可抗拒因素而终止,或结算周期已过无法结算订单。
* **已结算**:此状态全部为管理员手动操作,切勿随意点击,**当订单置为已结算时,会将所有与此订单相关联的预估收入记录置为实际收入,并到账代理商余额**。(如需结算订单过多,可参照批量结算进行)
### 订单操作说明

