
| 软件包 | 版本|
| --- | --- |
|FastDFS|v5.12-master|
|libfastcommon|v1.0.38-master|
|fastdfs-nginx-module|v1.20|
|tengine|v2.2.2|
[TOC]
## 1.更新源
```
yum update
yum install gcc
```
## 2.安装libfastcommon
① 下载libfastcommon
```
wget https://github.com/happyfish100/libfastcommon/archive/V1.0.38.tar.gz
```
② 解压
```
tar -zxvf libfastcommon-1.0.38.tar.gz
cd libfastcommon-1.0.38
```
③ 编译、安装
```
./make.sh
./make.sh install
```
④ libfastcommon.so 安装到了/usr/lib64/libfastcommon.so,但是FastDFS主程序设置的lib目录是/usr/local/lib,所以需要创建软链接。
```
ln -s /usr/lib64/libfastcommon.so /usr/local/lib/libfastcommon.so
ln -s /usr/lib64/libfastcommon.so /usr/lib/libfastcommon.so
ln -s /usr/lib64/libfdfsclient.so /usr/local/lib/libfdfsclient.so
ln -s /usr/lib64/libfdfsclient.so /usr/lib/libfdfsclient.so
```
## 3.下载安装FastDFS
① 下载FastDFS
```
wget https://github.com/happyfish100/fastdfs/archive/V5.12.tar.gz
```
② 解压
```
tar -zxvf fastdfs-5.12.tar.gz
cd fastdfs-5.12
```
③ 编译、安装
```
./make.sh
./make.sh install
```
④ 默认安装方式安装后的相应文件与目录
A、服务脚本:
```
/etc/init.d/fdfs_storaged
/etc/init.d/fdfs_trackered
```
B、配置文件(这三个是作者给的样例配置文件) :
```
/etc/fdfs/client.conf.sample
/etc/fdfs/storage.conf.sample
/etc/fdfs/tracker.conf.sample
```
C、命令工具在 /usr/bin/ 目录下:
```
fdfs_appender_test
fdfs_appender_test1
fdfs_append_file
fdfs_crc32
fdfs_delete_file
fdfs_download_file
fdfs_file_info
fdfs_monitor
fdfs_storaged
fdfs_test
fdfs_test1
fdfs_trackerd
fdfs_upload_appender
fdfs_upload_file
stop.sh
restart.sh
```
⑤ FastDFS 服务脚本设置的 bin 目录是 /usr/local/bin, 但实际命令安装在 /usr/bin/ 下。
两种方式:
》 一是修改FastDFS 服务脚本中相应的命令路径,也就是把 /etc/init.d/fdfs_storaged 和 /etc/init.d/fdfs_tracker 两个脚本中的 /usr/local/bin 修改成 /usr/bin。
```
# vim fdfs_trackerd
使用查找替换命令进统一修改:%s+/usr/local/bin+/usr/bin
# vim fdfs_storaged
使用查找替换命令进统一修改:%s+/usr/local/bin+/usr/bin
```
》 二是建立 /usr/bin 到 /usr/local/bin 的软链接,我是用这种方式。
```
ln -s /usr/bin/fdfs_trackerd /usr/local/bin
ln -s /usr/bin/fdfs_storaged /usr/local/bin
ln -s /usr/bin/stop.sh /usr/local/bin
ln -s /usr/bin/restart.sh /usr/local/bin
```
⑥ 复制配置文件
```
cd /etc/fdfs/
cp client.conf.sample client.conf
cp storage.conf.sample storage.conf
cp tracker.conf.sample tracker.conf
cp storage_ids.conf.sample storage_ids.conf
```
## 4.配置FastDFS跟踪器(Tracker)
配置文件详细说明参考:FastDFS 配置文件详解
① 进入 /etc/fdfs
```
cd /etc/fdfs
vim tracker.conf
```
② 编辑tracker.conf, ----------------------的需要修改下,其它的默认即可。
```
# 配置文件是否不生效,false 为生效
disabled=false
# 提供服务的端口
port=22122
# Tracker 数据和日志目录地址(根目录必须存在,子目录会自动创建)
base_path=/dopan/fastdfs/tracker ----------------------
# HTTP 服务端口
http.server_port=7080 ----------------------
```
③ 创建tracker基础数据目录,即base_path对应的目录
```
mkdir -p /dopan/fastdfs/tracker
```
④ 防火墙中打开跟踪端口(默认的22122)
```
vim /etc/sysconfig/iptables
```
添加如下端口行:
```
-A INPUT -m state --state NEW -m tcp -p tcp --dport 22122 -j ACCEPT
```
重启防火墙:
```
service iptables restart
```
⑤ 启动Tracker
初次成功启动,会在 /dopan/fastdfs/tracker/ (配置的base_path)下创建 data、logs 两个目录。
可以用这种方式启动
```
/etc/init.d/fdfs_trackerd start
```
也可以用这种方式启动,前提是上面创建了软链接,后面都用这种方式
```
service fdfs_trackerd start
```
查看 FastDFS Tracker 是否已成功启动 ,22122端口正在被监听,则算是Tracker服务安装成功。
```
netstat -unltp|grep tracker
```
关闭Tracker命令:
```
service fdfs_trackerd stop
```
⑥ 设置Tracker开机启动
```
chkconfig fdfs_trackerd on
或者:
vim /etc/rc.d/rc.local
```
加入配置:
```
/etc/init.d/fdfs_trackerd start
或者:
service fdfs_trackerd start
```
⑦ tracker server 目录及文件结构
Tracker服务启动成功后,会在base_path下创建data、logs两个目录。目录结构如下:
${base_path}
|__data
| |__storage_groups.dat:存储分组信息
| |__storage_servers.dat:存储服务器列表
|__logs
| |__trackerd.log: tracker server 日志文件
## 5.配置 FastDFS 存储 (Storage)
① 进入 /etc/fdfs 目录
```
cd /etc/fdfs
vim storage.conf
```
② 编辑storage.conf, ----------------------的需要修改下,其它的默认即可。
```
# 配置文件是否不生效,false 为生效
disabled=false
# 指定此 storage server 所在 组(卷)
group_name=group1
# storage server 服务端口
port=23000
# 心跳间隔时间,单位为秒 (这里是指主动向 tracker server 发送心跳)
heart_beat_interval=30
# Storage 数据和日志目录地址(根目录必须存在,子目录会自动生成)
base_path=/dopan/fastdfs/storage ----------------------
# 存放文件时 storage server 支持多个路径。这里配置存放文件的基路径数目,通常只配一个目录。
store_path_count=1
# 逐一配置 store_path_count 个路径,索引号基于 0。
# 如果不配置 store_path0,那它就和 base_path 对应的路径一样。
store_path0=/dopan/fastdfs/file ----------------------
# FastDFS 存储文件时,采用了两级目录。这里配置存放文件的目录个数。
# 如果本参数只为 N(如: 256),那么 storage server 在初次运行时,会在 store_path 下自动创建 N * N 个存放文件的子目录。
subdir_count_per_path=256
# tracker_server 的列表 ,会主动连接 tracker_server
# 有多个 tracker server 时,每个 tracker server 写一行
tracker_server=ip:22122 ----------------------
# 允许系统同步的时间段 (默认是全天) 。一般用于避免高峰同步产生一些问题而设定。
sync_start_time=00:00
sync_end_time=23:59
# 访问端口
http.server_port=7888 ----------------------
```
③ 创建Storage基础数据目录,对应base_path目录
```
mkdir -p /dopan/fastdfs/storage
# 这是配置的store_path0路径
mkdir -p /dopan/fastdfs/file
```
④ 防火墙中打开存储器端口(默认的 23000)
```
vim /etc/sysconfig/iptables
```
添加如下端口行:
```
-A INPUT -m state --state NEW -m tcp -p tcp --dport 23000 -j ACCEPT
```
重启防火墙:
```
service iptables restart
```
⑤ 启动 Storage
启动Storage前确保Tracker是启动的。初次启动成功,会在 /dopan/fastdfs/storage 目录下创建 data、 logs 两个目录。
可以用这种方式启动
```
/etc/init.d/fdfs_storaged start
```
也可以用这种方式,后面都用这种
```
service fdfs_storaged start
```
查看 Storage 是否成功启动,23000 端口正在被监听,就算 Storage 启动成功。
```
netstat -unltp|grep storage
```
关闭Storage命令:
```
service fdfs_storaged stop
```
查看Storage和Tracker是否在通信:
```
/usr/bin/fdfs_monitor /etc/fdfs/storage.conf
```
显示ip_addr = 192.168.56.140 ACTIVE 即为通信成功
⑥ 设置 Storage 开机启动
```
chkconfig fdfs_storaged on
或者:
vim /etc/rc.d/rc.local
```
加入配置:
```
/etc/init.d/fdfs_storaged start
```
⑦ Storage 目录
同 Tracker,Storage 启动成功后,在base_path 下创建了data、logs目录,记录着 Storage Server 的信息。
在 store_path0 目录下,创建了N*N个子目录。
6.文件上传测试
① 修改 Tracker 服务器中的客户端配置文件
```
cd /etc/fdfs
vim client.conf
```
修改如下配置即可,其它默认。
```
# Client 的数据和日志目录
base_path=/dopan/fastdfs/client
# Tracker端口
tracker_server=ip:22122
```
②创建配置的base_path路径
```
mkdir -p /dopan/fastdfs/client
```
③ 上传测试
在linux内部执行如下命令上传 test.jpg 图片
```
/usr/bin/fdfs_upload_file /etc/fdfs/client.conf test.jpg #这后面放的是图片的位置
```
上传成功后返回文件ID号:group1/M00/00/00/wKg4jFtibkaAQt72AACtutzJ9C8073.jpg
返回的文件ID由group、存储目录、两级子目录、fileid、文件后缀名(由客户端指定,主要用于区分文件类型)拼接而成。
我们仔细看一下,实际文件存储路径下有创建好的多级目录。data下有256个1级目录,每级目录下又有256个2级子目录,总共65536个文件,新写的文件会以hash的方式被路由到其中某个子目录下,然后将文件数据直接作为一个本地文件存储到该目录中。
## 7.安装Nginx
在安装tengine之前,确认centos环境中有无gcc、pcre、openssl,如果没有按以下命令进行安装
zlib 安装
```
yum install -y zlib zlib-devel
yum install gcc
```
PCRE pcre-devel 安装
```
yum install -y pcre pcre-devel
```
安装最新版本:pcre-devel-7.8-6.el6.i686
```
yum install -y openssl openssl-devel
```
安装最新版本:openssl-devel-1.0.1e-30.el6_6.5.i686
开始安装tengine,注意确认有无nginx用户和app用户组,或者根据自身情况更改
下载 fastdfs-nginx-module、解压
```
wget https://github.com/happyfish100/fastdfs-nginx-module/archive/V1.20.tar.gz
# 解压
tar -zxvf fastdfs-nginx-module-1.20.tar.gz
wget http://tengine.taobao.org/download/tengine-2.2.2.tar.gz
tar -vxzf tengine-2.2.2.tar.gz
cd tengine-2.2.2
groupadd app
useradd -g app nginx
./configure --prefix=/usr/local/nginx --user=nginx --group=app --prefix=/usr/local/nginx --with-http_stub_status_module --with-http_ssl_module --with-http_concat_module --with-http_upstream_check_module --with-http_sub_module --with-http_realip_module --add-module=../fastdfs-nginx-module-1.20/src
make
make install
-------------------------------
tar -vxzf nginx-1.14.0.tar.gz
cd nginx-1.14.0
groupadd app
useradd -g app nginx
./configure --prefix=/usr/local/nginx --user=nginx --group=app --prefix=/usr/local/nginx --with-http_stub_status_module --with-http_ssl_module --with-http_sub_module --with-http_realip_module --add-module=../fastdfs-nginx-module-1.20/src
make && make install
-------------------------------
cp /usr/local/nginx/sbin/nginx /etc/init.d/nginx
```
启动nginx
```
service nginx
```
其它命令
```
service nginx -s stop
service nginx -s quit
service nginx -s reload
```
设置开机启动
```
vim /etc/rc.local
```
添加一行:
```
/etc/init.d/nginx
```
防火墙中打开Nginx端口(默认的 80)
添加后就能在本机使用80端口访问了。
```
vim /etc/sysconfig/iptables
```
添加如下端口行:
```
-A INPUT -m state --state NEW -m tcp -p tcp --dport 80 -j ACCEPT
```
重启防火墙:
```
service iptables restart
```
7.1访问文件
简单的测试访问文件
① 修改nginx.conf
```
vim /usr/local/nginx/conf/nginx.conf
```
添加如下行,将 /group([0-9])/M00 映射到 /dopan/fastdfs/file/data
```
location ~/group([0-9])/M00 {
alias /dopan/fastdfs/file/data;
}
```
重启nginx
```
service nginx -s reload
```
② 在浏览器访问之前上传的图片、成功。
http://ip/group1/M00/00/00/wKg4jFtibkaAQt72AACtutzJ9C8073.jpg
## 8.FastDFS 配置 Nginx 模块
1、安装配置Nginx模块
① fastdfs-nginx-module 模块说明
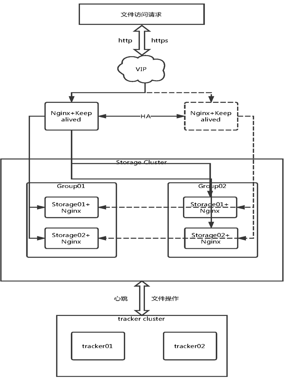
FastDFS 通过 Tracker 服务器,将文件放在 Storage 服务器存储, 但是同组存储服务器之间需要进行文件复制, 有同步延迟的问题。
假设 Tracker 服务器将文件上传到了 192.168.51.128,上传成功后文件 ID已经返回给客户端。
此时 FastDFS 存储集群机制会将这个文件同步到同组存储 192.168.51.129,在文件还没有复制完成的情况下,客户端如果用这个文件 ID 在 192.168.51.129 上取文件,就会出现文件无法访问的错误。
而 fastdfs-nginx-module 可以重定向文件链接到源服务器取文件,避免客户端由于复制延迟导致的文件无法访问错误。
② 配置Nginx
在nginx中添加模块
```
# 先停掉nginx服务
/usr/local/nginx/sbin/nginx -s stop
```
③ 查看Nginx的模块
```
/usr/local/nginx/sbin/nginx -V
```
④ 复制 fastdfs-nginx-module 源码中的配置文件到/etc/fdfs 目录, 并修改
```
cd fastdfs-nginx-module-1.20/src
cp mod_fastdfs.conf /etc/fdfs/
```
修改如下配置,其它默认
```
# 连接超时时间
connect_timeout=10
# Tracker Server
tracker_server=ip:22122
# StorageServer 默认端口
storage_server_port=23000
# 如果文件ID的uri中包含/group**,则要设置为true
url_have_group_name = true
# Storage 配置的store_path0路径,必须和storage.conf中的一致
store_path0=/dopan/fastdfs/file
# 设置组的个数
group_count = 1
# 在文件的最后,设置group
[group1]
group_name=group1
storage_server_port=23000
# store_path数量
store_path_count=1
store_path0=/dopan/fastdfs/file
#store_path1=/home/yuqing/fastdfs1
--------------------------------------------------------------------
不用# vim storage_ids.conf
```
⑤ 复制 FastDFS 的部分配置文件到/etc/fdfs 目录
```
cd fastdfs-5.12/conf/
cp http.conf mime.types /etc/fdfs/
```
⑥ 配置nginx,修改nginx.conf
```
vim /usr/local/nginx/conf/nginx.conf
```
修改配置,其它的默认
在80端口下添加fastdfs-nginx模块,原来7.1步骤的注释掉
```
location ~/group([0-9])/M00 {
ngx_fastdfs_module;
}
```
注意:
listen 80 端口值是要与 /etc/fdfs/storage.conf 中的 http.server_port=80 (前面改成80了)相对应。如果改成其它端口,则需要统一,同时在防火墙中打开该端口。
location 的配置,如果有多个group则配置location ~/group([0-9])/M00 ,没有则不用配group。
⑦ 在/dopan/fastdfs/file 文件存储目录下创建软连接,将其链接到实际存放数据的目录,这一步可以省略。
```
ln -s /dopan/fastdfs/file/data/ /dopan/fastdfs/file/data/M00
```
⑧ 启动nginx
```
service nginx
```
打印出`ngx_http_fastdfs_set pid=39973`就算配置成功
⑨ 在地址栏访问。
能下载文件就算安装成功。注意和第三点中直接使用nginx路由访问不同的是,这里配置 fastdfs-nginx-module 模块,可以重定向文件链接到源服务器取文件。
http://ip/group1/M00/00/00/wKg4jFtibkaAQt72AACtutzJ9C8073.jpg
查看 fastdfs 是否成功启动
```
netstat -unltp|grep fdfs
service fdfs_storaged stop
service fdfs_trackerd stop
service nginx
```
## 9.权限控制
前面使用nginx支持http方式访问文件,但所有人都能直接访问这个文件服务器了,所以做一下权限控制。
FastDFS的权限控制是在服务端开启token验证,客户端根据文件名、当前unix时间戳、秘钥获取token,在地址中带上token参数即可通过http方式访问文件。
① 服务端开启token验证
修改http.conf
```
vim /etc/fdfs/http.conf
```
```
设置为true表示开启token验证
http.anti_steal.check_token=true
设置token失效的时间单位为秒(s)
http.anti_steal.token_ttl=1800
密钥,跟客户端配置文件的fastdfs.http_secret_key保持一致
http.anti_steal.secret_key=FastDFS1234567890
如果token检查失败,返回的页面
http.anti_steal.token_check_fail=/dopan/fastdfs/error/403.jpg
```
记得重启服务。
② 配置客户端
客户端只需要设置如下两个参数即可,两边的密钥保持一致。
```
# token 防盗链功能
fastdfs.http_anti_steal_token=true
# 密钥
fastdfs.http_secret_key=FastDFS1234567890
```
③ 客户端生成token
访问文件需要带上生成的token以及unix时间戳,所以返回的token是token和时间戳的拼接。
之后,将token拼接在地址后即可访问:http://ip/group1/M00/00/00/wKg4jFtibkaAQt72AACtutzJ9C8073.jpg?token=078d370098b03e9020b82c829c205e1f&ts=1508141521
```
/**
* 获取访问服务器的token,拼接到地址后面
*
* @param filepath 文件路径 group1/M00/00/00/wKg4jFtibkaAQt72AACtutzJ9C8073.jpg
* @param httpSecretKey 秘钥
* @return 返回token,如: token=297c26d51f2a335f9714bdc15dcd1aa7&ts=1533289020
*/
public static String getToken(String filepath, String httpSecretKey){
// unix seconds
int ts = (int) Instant.now().getEpochSecond();
// token
String token = "null";
try {
token = ProtoCommon.getToken(getFilename(filepath), ts, httpSecretKey);
} catch (UnsupportedEncodingException e) {
e.printStackTrace();
} catch (NoSuchAlgorithmException e) {
e.printStackTrace();
} catch (MyException e) {
e.printStackTrace();
}
StringBuilder sb = new StringBuilder();
sb.append("token=").append(token);
sb.append("&ts=").append(ts);
return sb.toString();
}
```
④ 注意事项
如果生成的token验证无法通过,请进行如下两项检查:
A. 确认调用token生成函数(ProtoCommon.getToken),传递的文件ID中没有包含group name。传递的文件ID格式形如:M00/00/00/wKgzgFnkTPyAIAUGAAEoRmXZPp876.jpeg
B. 确认服务器时间基本是一致的,注意服务器时间不能相差太多,不要相差到分钟级别。
⑤ 对比下发现,如果系统文件隐私性较高,可以直接通过fastdfs-client提供的API去访问即可,不用再配置Nginx走http访问。配置Nginx的主要目的是为了快速访问服务器的文件(如图片),如果还要加权限验证,则需要客户端生成token,其实已经没有多大意义。
关键是,这里我没找到FastDFS如何对部分资源加token验证,部分开放。有知道的还请留言。
OK,以上就是单机中使用FastDFS搭建文件系统并上传下载的过程。
本文终!!!
- 微服务介绍
- 软件架构设计
- 系统简介
- 运行环境
- 模块介绍
- 启动部署命令参数
- 打包说明
- 开发说明
- Java8
- 认证理论
- 有网络隔离
- 无网络隔离
- token自动续签设计
- url级权限控制
- 单点登录
- 登录
- 用户名密码(+验证码)登录
- 通过openId获取token
- 通过手机号获取token
- 第三方系统接口对接
- 第三方系统单点登录
- 通用刷新token
- 账号登出接口
- 统一异常处理
- 日志埋点工具
- 审计日志
- yml自定义配置自动提示
- Redis使用
- CacheManager集成
- 搜索中心
- 网关zuul动态路由
- swagger
- 解决开发环境的服务冲突和实例乱窜
- 多租户理论
- 多租户实现
- 分布式锁
- 分布式id生成器
- 分布式事务
- 分库分表sharding-sphere
- 消息队列
- 系统幂等性
- X 实时搜索系统设计
- Spring Cloud性能调优
- 链路跟踪
- JWT的RSA非对称密钥生成
- jdk
- Oracle
- OpenJDK
- Dragonwell
- JVM介绍
- 常见JVM内存错误及解决方案
- JVM分析工具详解
- nexus
- docker
- 安装
- docker-compose安装
- 私有仓库搭建
- 指定数据储存目录
- 添加私有仓库
- 提交拉取镜像
- X 免Dockerfile文件构建项目镜像
- 持续集成部署CI/CD
- Confluence知识管理
- JIRA事务与项目跟踪软件
- Gitlab代码仓库
- Jenkins自动化部署
- SonarQube代码检测
- Rancher容器管理平台
- nacos
- 部署
- Rancher部署nacos
- 注册中心
- 配置中心
- 多环境
- 生产部署方案
- X 通过Nginx来实现环境隔离
- Sentinel详解
- 动态规则扩展
- 在生产环境中使用 Sentinel
- 启动配置项
- X 网关流控
- ELK日志系统和慢查询SQL
- docker安装
- 普通安装
- Filebeat安装部署
- ES数据定期删除
- 没数据问题排查思路
- X Logstash的grok语法调试
- 慢查询sql
- 审计日志
- Elasticsearch性能优化
- APM监控
- SkyWalking介绍
- Zipkin,Pinpoint,SkyWalking三种服务链路监控组件分析
- 服务端部署
- 客户端部署
- 日志清理
- Metrics监控
- 二进制包部署
- docker部署
- docker安装各组件监控
- Grafana仪表盘和告警配置
- JMeter压力测试工具
- 使用说明
- 分布式事务
- TX-LCN(同步)
- X SEATA(同步)
- X RocketMQ(异步)
- 消息队列
- RocketMQ
- RocketMQ安装部署
- RocketMQ常见异常处理
- SpringCloud-Stream
- RabbitMQ
- Redis
- 单机安装
- 主从复制
- 主从复制+哨兵
- cluster集群
- 持久化方案
- MySQL
- 单机安装
- 主从复制
- 主从切换
- 主主复制
- 高可用
- 分表分库
- Canal数据库日志解析消费
- Canal安装
- 实时同步数据到ElasticSearch
- FastDFS
- docker安装
- centos安装
- 项目管理系统
- 禅道
- 111