【功能介绍】
通过此功能,纳税人可以查询发票的开具情况。

【操作步骤】
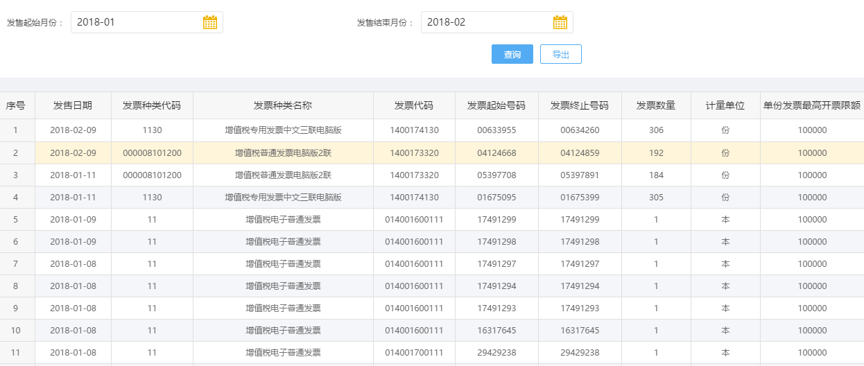
进入首页,在我要查询模块,点击发票信息查询,发票发售清册,进入查询页面,可按发售起止月份,查询企业发票领购情况。


进入首页,在我要查询模块,点击发票信息查询,选择发票种类,进入发票开具查询页面,可按月查询企业的开票历史情况。


- 封皮
- 编写说明
- 一、注册及登录
- (一)企业登录
- (二)自然人登录
- (三)代理人登录
- (四)忘记密码
- (五)企业登录授权
- (六)代理人登录委托办税管理
- 1、涉税专业服务机构采集操作流程
- 1.1.涉税专业服务机构基本信息采集
- 1.2.涉税专业服务机构人员基本信息采集
- 1.3.涉税专业服务协议信息采集
- 2、委托办税管理操作流程
- 二、主界面介绍
- (一)常用功能
- (二)套餐服务
- 1.新办纳税人套餐服务
- 2.车辆购置税申报套餐
- 2.1.单位纳税人车辆购置税申报套餐
- 2.2.自然人车辆购置税申报套餐
- 3.跨区域涉税事项套餐操作手册
- 4.注销税务登记套餐
- 5.注销前置事项办理套餐
- 6.大企业直通车套餐业务
- 7.非税申报套餐
- 7.1.跨区税源登记
- 7.2.网签三方协议
- 7.2.1三方协议签订
- 7.2.2终止网签三方协议
- 7.2.3三方协议查询
- 7.2.4常见问题
- 7.3.非税通用申报表
- 7.4.完税证明打印
- 8.非税收入申报及缴纳信息采集
- 8.1.水土保持补偿费采集信息
- 8.2.排污权出让收入信息采集
- 8.3.防空地下室易地建设费信息
- 8.4.缴费信息查询
- 8.5.完税证明开具
- (三)特色业务
- 1.金融超市信用贷款申请
- 三、功能介绍
- (一)用户中心
- 1.纳税人信息
- 2.电子资料
- 3.用户管理
- (二)办税中心
- 1.综合信息报告
- 1.1.身份信息报告
- 1.1.1.一照一码户登记信息确认
- 1.1.2.两证整合个体工商户登记信息确认
- 1.1.3.一照一码户信息变更
- 1.1.4.两证整合个体工商户信息变更
- 1.1.5.扣缴税款登记
- 1.1.6.税务登记信息变更非“多证合一”“两证整合”纳税人
- 1.1.7.实名采集
- 1.1.8个人所得税扣缴税款登记证
- 1.2.资格信息报告
- 1.2.1.增值税一般纳税人登记
- 1.2.2.选择按小规模纳税人纳税的情况说明事项
- 1.2.3.货物运输业小规模纳税人异地代开增值税专用发票备案
- 1.2.4.增值税加计抵减政策声明
- 1.2.5.企业所得税汇总纳税总分机构信息备案
- 1.3.制度信息报告
- 1.3.1.存款账户账号报告
- 1.3.2.财务会计制度备案
- 1.4.税源信息报告
- 1.4.1.环境保护税税源信息采集
- 1.4.2.增量房销售信息采集
- 1.4.3.存量房销售信息采集
- 1.4.4.跨区域涉税事项报告
- 1.4.5.增量房房源信息报告及变更
- 1.4.6.水资源税税源信息报告
- 1.4.7.建筑业项目报告
- 1.4.8.注销建筑业项目报告
- 1.4.9.不动产项目报告
- 1.4.10.注销不动产项目报告
- 1.4.11.土地出(转)让信息采集
- 1.4.12.税源申报明细报告
- 1.4.13.跨区域涉税事项报验
- 1.4.14.跨区域涉税事项信息反馈
- 1.5.状态信息报告
- 1.5.1.注销税务登记
- 1.5.2.停业登记
- 1.5.3.复业登记
- 1.5.4.一照一码户清税申报
- 1.5.5.两证整合个体工商户清税申报
- 1.5.6.合并分立报告
- 1.5.7.企业所得税清算报备
- 1.5.8.注销扣缴税款登记
- 1.6.特定涉税信息报告
- 1.6.1.车辆生产企业管理
- 1.6.2.证件遗失
- 1.6.3.发票挂失
- 1.6.4.损毁报告
- 1.6.5.证件增补发
- 1.6.6.文化事业建设费缴费信息报告
- 2.发票使用
- 2.1.发票认证
- 2.1.1.增值税发票选择确认平台
- 2.2.发票票种核定
- 2.2.1发票票种核定申请
- 2.3.发票领用
- 2.4.发票代开
- 2.4.1.代开增值税专用发票
- 2.4.2.代开增值税普通发票
- 2.4.3.代开发票作废
- 2.5.发票验旧缴销
- 2.5.1.发票验(交)旧
- 2.5.2.发票缴销
- 2.6.增值税税控系统专用设备变更发行
- 2.6.1.增值税税控系统专用设备变更发行
- 2.7.开具红字增值税专用发票
- 2.7.1.开具红字增值税专用发票
- 2.7.2.红废票管理
- 3.税费申报及缴纳
- 3.1.缴款方式
- 3.1.1.协议缴税
- 3.1.2.第三方在线支付缴税
- 3.2.申报辅助
- 3.2.1.申报表的作废
- 3.2.2.申报错误更正
- 3.3.查询缴款
- 3.3.1.缴款凭证的打印功能
- 3.4.申报表
- 3.4.1.增值税预缴申报
- 3.4.2.增值税及附加税费申报表 (一般纳税人适用)申报缴税
- 3.4.3.增值税及附加税费申报表 (小规模纳税人适用)申报缴税
- 3.4.4.原油天然气增值税申报
- 3.4.5.航空运输企业年度清算申报
- 3.4.6.消费税及附加税费申报缴纳
- 3.4.7.耕地占用税申报
- 3.4.8.土地增值税纳税申报表
- 3.4.9.印花税申报
- 3.4.10.非税收入通用申报
- 3.4.11.车船税申报
- 3.4.12.环境保护税申报
- 3.4.13.通用申报(税及附征税费)
- 3.4.14.定期定额申报
- 3.4.15.居民企业所得税(A类)申报
- 3.4.16.居民企业所得税(B类)申报
- 3.4.17.非居民企业(据实申报)所得税申报
- 3.4.18.非居民企业(核定申报)所得税申报
- 3.4.19.文化事业建设费申报
- 3.4.20.城镇土地使用税申报
- 3.4.21.房产税申报
- 3.4.22.水资源申报(A类)
- 3.4.23.水资源申报(B类)
- 3.4.24.资源税申报
- 3.4.25.残疾人就业保障金申报
- 3.4.26.通用代扣代缴
- 3.4.27.扣缴企业所得税申报
- 3.4.28.烟叶税申报
- 3.4.29.代收代缴车船税申报
- 3.4.30.契税申报
- 3.4.31财产和行为税合并纳税申报
- 4.税收减免
- 4.1.税收减免备案
- 4.1.1.税收减免备案
- 4.2.税收减免核准
- 4.2.1.税收减免核准(原税务资格备案)
- 5.证明开具
- 5.1.开具税收完税(费)证明
- 5.1.1.开具税收完税(费)证明(文书式)
- 5.1.2.开具税收完税(费)证明(表格式)
- 5.2.中国税收居民身份证明
- 5.3.服务贸易等项目对外支付税务备案
- 5.4.转开印花税票销售凭证
- 5.5.转开税收缴款书(出口货物劳务专用)
- 6.税务行政许可
- 6.1.延期缴税
- 6.2.增值税专用发票最高开票限额
- 6.3.企业印制发票审批
- 6.4.对采取实际利润额预缴以外的其他企业所得税预缴方式的核定
- 6.5.对纳税人变更纳税定额的核准
- 7.核定管理
- 7.1.定期定额户申请核定及调整定额
- 7.2.农产品增值税进行税额扣除标准核定申请
- 8.一般退(抵)税管理
- 8.1.误收多缴退抵税
- 8.2.入库减免退抵税
- 8.3.汇算清缴结算多缴退抵税
- 8.4.车辆购置税退税
- 8.5.车船税退抵税
- 8.6.增值税制度性留抵退税
- 8.7.不予加收滞纳金审批
- 8.8.石脑油、燃料油消费税退税和不予加收滞纳金审批
- 9.出口退税管理
- 9.1.出口退税管理功能离线申报
- 9.1.1.出口退(免)税企业资格信息报告
- 9.1.2.出口退(免)税申报
- 9.1.3.出口企业分类管理
- 9.1.4.出口退税自检服务
- 9.1.5.开具出口退(免)税证明
- 9.1.6.出口退税信息查询
- 9.1.6.1.出口退税申报信息查询
- 9.1.6.2.企业备案信息查询
- 9.1.6.3.委托代办退税备案情况查询
- 9.1.6.4.报关单信息查询及下载
- 9.1.6.5.代理证明信息查询及下载
- 9.1.6.6.电子手册信息查询及下载
- 9.1.6.7.电子账册信息查询及下载
- 9.1.6.8.退税审核进度查询
- 9.1.6.9.出口商品退税率查询
- 9.1.6.10免税出口卷烟计划查询
- 9.2.出口退税管理功能在线申报
- 9.2.1.出口退(免)税企业资格信息报告
- 9.2.1.1.操作流程
- 9.2.1.2.明细数据采集
- 9.2.1.3.数据申报
- 9.2.1.4.申报结果查询
- 9.2.2.出口退(免)税申报
- 9.2.2.1.免抵退税申报
- 9.2.2.1.1操作流程
- 9.2.2.1.2基础数据管理
- 9.2.2.1.2.1出口货物报关单管理
- 9.2.2.1.2.2汇率管理
- 9.2.2.1.2.3明细数据采集
- 9.2.2.1.2.3.1生产企业出口货物免抵退税申报明细
- 9.2.2.1.2.3.2其他相关业务表单采集
- 9.2.2.1.2.3.3国际运输(港澳台运输)免抵退税申报明细表
- 9.2.2.1.2.3.3.1国际运输(港澳台运输)免抵退税申报明细表
- 9.2.2.1.2.3.3.2其他相关业务表单采集
- 9.2.2.1.2.3.4跨境应税行为免抵退税申报明细表
- 9.2.2.1.2.3.4.1跨境应税行为免抵退税申报明细表
- 9.2.2.1.2.3.4.2跨境应税行为收讫营业款明细清单
- 9.2.2.1.2.4确认汇总表
- 9.2.2.1.2.5退税申报
- 9.2.2.1.2.6申报结果查询
- 9.2.2.2.出口货物劳务免退税申报
- 9.2.2.2.1操作流程
- 9.2.2.2.2智能配单
- 9.2.2.2.2.1出口货物报关单管理
- 9.2.2.2.2.2增值税专用发票管理
- 9.2.2.2.2.3基础数据智能配单
- 9.2.2.2.3明细数据采集
- 9.2.2.2.3.1外贸企业出口退税出口明细申报表
- 9.2.2.2.3.2外贸企业出口退税进货明细申报表
- 9.2.2.2.3.3其他相关业务表单采集
- 9.2.2.2.4退税申报
- 9.2.2.2.5申报结果查询
- 9.2.2.3.外贸企业调整申报表
- 9.2.2.3.1操作流程
- 9.2.2.3.2明细数据采集
- 9.2.2.3.3退税申报
- 9.2.2.3.4申报结果查询
- 9.2.2.4外贸企业外购服务免退税申报
- 9.2.2.4.1操作流程
- 9.2.2.4.2明细数据采集
- 9.2.2.4.3退税申报
- 9.2.2.4.4申报结果查询
- 9.2.2.5代办退税申报
- 9.2.2.5.1操作流程
- 9.2.2.5.2明细数据采集
- 9.2.2.5.2.1外贸综合服务企业代办退税申报表
- 9.2.2.5.2.2其他相关业务表单采集
- 9.2.2.5.3退税申报
- 9.2.2.5.4申报结果查询
- 9.2.2.6出口已使用过的设备退税申报
- 9.2.2.6.1操作流程
- 9.2.2.6.2明细数据采集
- 9.2.2.6.3其他相关业务表单采集
- 9.2.2.6.4数据申报
- 9.2.2.6.5申报结果查询
- 9.2.2.7购进自用货物退税申报
- 9.2.2.7.1操作流程
- 9.2.2.7.2明细数据采集
- 9.2.2.7.3数据申报
- 9.2.2.7.4申报结果查询
- 9.2.2.8航天发射业务免退税申报
- 9.2.2.8.1操作流程
- 9.2.2.8.2明细数据采集
- 9.2.2.8.3数据申报
- 9.2.2.8.4申报结果查询
- 9.2.2.9出口非自产货物消费税退税申报
- 9.2.2.9.1操作流程
- 9.2.2.9.2明细数据采集
- 9.2.2.9.3其他相关业务表单采集
- 9.2.2.9.4数据申报
- 9.2.2.9.5申报结果查询
- 9.2.2.10出口信息查询
- 9.2.2.10.1操作流程
- 9.2.2.10.2明细数据采集
- 9.2.2.10.3数据申报
- 9.2.2.10.4申报结果查询
- 9.2.2.11非需提供收汇企业收汇申报
- 9.2.2.11.1操作流程
- 9.2.2.11.2明细数据采集
- 9.2.2.11.3数据申报
- 9.2.2.11.4申报结果查询
- 9.2.2.12进料加工计划分配率备案表
- 9.2.2.12.1操作流程
- 9.2.2.12.2明细数据采集
- 9.2.2.12.3数据申报
- 9.2.2.12.4申报结果查询
- 9.2.2.13生产企业进料加工业务免抵退税核销表
- 9.2.2.13.1操作流程
- 9.2.2.13.2加贸数据查询
- 9.2.2.13.2.1数据下载
- 9.2.2.13.2.2数据查询
- 9.2.2.13.3明细数据采集
- 9.2.2.13.3.1进料加工业务免抵退税核销表
- 9.2.2.13.3.2已核销手册(账册)海关数据调整表
- 9.2.2.13.4数据申报
- 9.2.2.13.5申报结果查询
- 9.2.2.14进料加工计划分配率调整
- 9.2.2.14.1操作流程
- 9.2.2.14.2明细数据采集
- 9.2.2.14.3数据申报
- 9.2.2.14.4申报结果查询
- 9.2.2.15企业撤回退(免)税申报申请表
- 9.2.2.15.1操作流程
- 9.2.2.15.2明细数据采集
- 9.2.2.15.3数据申报
- 9.2.2.15.4申报结果查询
- 9.2.2.16进货凭证信息回退
- 9.2.2.16.1操作流程
- 9.2.2.16.2明细数据采集
- 9.2.2.16.3数据申报
- 9.2.2.16.4申报结果查询
- 9.2.2.17先退税后核销资格申请表
- 9.2.2.17.1操作流程
- 9.2.2.17.2明细数据采集
- 9.2.2.17.3数据申报
- 9.2.2.17.4申报结果查询
- 9.2.3.出口企业分类管理
- 9.2.3.1一类出口企业评定申请
- 9.2.3.1.1操作流程
- 9.2.3.1.2明细数据采集
- 9.2.3.1.2.1出口退(免)税企业内部风险控制体系建设情况报告
- 9.2.3.1.2.2生产型出口企业生产能力情况报告
- 9.2.3.1.3数据申报
- 9.2.3.1.4申报结果查询
- 9.2.3.2出口企业分类管理复评申请表
- 9.2.3.2.1操作流程
- 9.2.3.2.2明细数据采集
- 9.2.3.2.3数据申报
- 9.2.3.2.4申报结果查询
- 9.2.4.开具出口退(免)税证明
- 9.2.4.1操作流程
- 9.2.4.2数据采集
- 9.2.4.3证明申请
- 9.2.4.4申报结果查询
- 9.2.5.出口退税信息查询
- 9.2.5.1出口退税申报信息查询
- 9.2.5.2企业备案信息查询
- 9.2.5.3委托代办退税备案情况查询
- 9.2.5.4报关单信息查询及下载
- 9.2.5.5代理证明信息查询及下载
- 9.2.5.6电子手册信息查询及下载
- 9.2.5.7电子账册信息查询及下载
- 9.2.5.8退税审核进度查询
- 9.2.5.9出口商品退税率查询
- 10.增值税抵扣凭证管理
- 10.1.逾期增值税扣税凭证抵扣申请单
- 10.2.未按期申报抵扣增值税扣税凭证抵扣管理
- 11.税务代保管资金收取
- 12.预约定价安排
- 12.1.提交预约定价安排谈签申请
- 13.纳税信用
- 13.1.纳税信用补评
- 13.2.纳税信用复评
- 13.3.纳税信用修复
- 14.稽查检查
- 15.涉税专业机构服务管理
- 15.1.税务师事务所管理
- 15.1.1.行政登记
- 15.1.2.变更
- 15.1.3.终止
- 15.2.其他涉税专业服务机构管理
- 15.2.1.涉税专业协议信息采集
- 15.2.2.涉税专业服务协议信息变更及终止
- 15.2.3.专项报告
- 15.2.4.年度报告
- 15.2.5.机构信息采集
- 15.2.6.人员信息采集
- 15.2.7.协议信息中止
- 15.2.8.协议信息恢复
- 16.法律追责与救济事项
- 16.1.违法处置
- 16.1.1.违法处置
- 16.2.纳税担保申请
- 16.2.1.纳税担保申请
- 16.3.行政救济
- 16.3.1.税务行政复议
- 16.3.2.税务行政诉讼
- 16.3.3.税务行政赔偿
- 16.3.4.税务行政补偿
- 16.3.5.重新作出行政行为处理
- 16.3.6.税收协定相互协商程序
- 16.3.7.特别纳税调整相互协商程序申请
- 17.其他服务事项
- 17.1.网签三方协议
- 18.社保费税费申报及缴纳
- 18.1.单位社保费税费申报及缴纳
- 18.1.1单位社会保险申报表
- 18.1.2.单位完税证明开具
- 18.1.3.单位完税证明下载
- 18.1.4.职业年金电子票据查询开具
- 18.2自然人社保费税费申报及缴纳
- 18.2.1.注册方式
- 18.2.2.社会保险费申报及缴纳
- 18.2.3.社会保险费缴费证明
- (三)查询中心
- 1.进度及结果信息查询
- 2.发票信息查询
- 3.申报信息查询
- 4.缴款信息查询
- 5.欠税信息查询
- 6.优惠信息查询
- 7.证明信息查询
- 7.1.完税证明类
- 7.2.对外支付证明类
- 8.个体工商户核定定额信息查询
- 9.涉税中介机构信息查询
- 10.纳税信用查询
- 10.1.纳税信用状态信息查询
- 10.2.当前年度指标扣分情况查询
- 11.违法违章信息查询类
- 12.历史办税操作查询
- (四)互动中心
- 1.我的消息
- 2.预约办税
- 3.在线互动
- 4.纳税人满意度调查
- 5.纳税人需求
- 6.权益保护
- (五)公众服务
- 1.清税证明(开具)
- 1.1.未纳税登记清税证明开具
- 1.2.已税务注销补打清税证明
- 2.税务检查证查验
