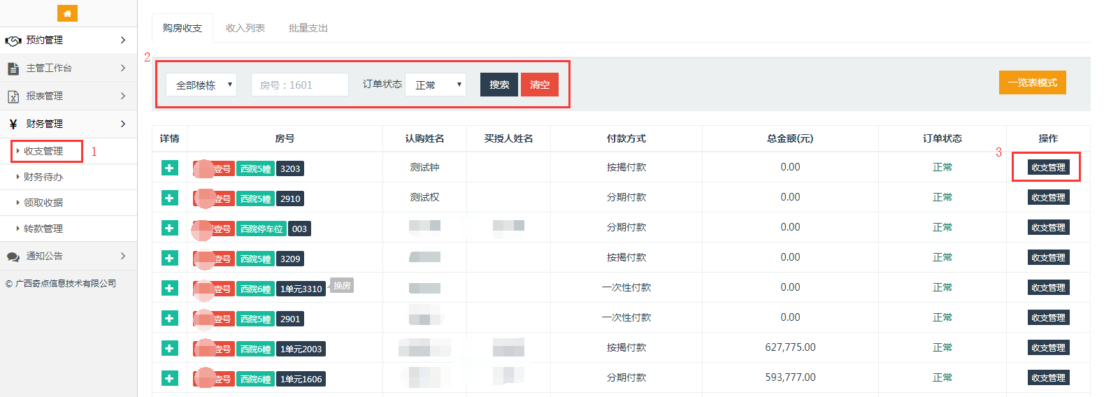
如果遇到需要将单张收据换开成多少张收据时,可以进行如下操作:
1.点击收支管理功能,筛选出需要换开多张收据的房间。并点击进入。

2.找到需要换开的收据,点击拆票按钮进行换开

3.换开多张收据时,需要根据实际情况进行换开,
选择需要换开的款项名称及金额,选择需要换开几张收据。
并且加上换开备注


注:换开多少收据时,多张收据的金额总和需要等于换开前收据金额总和。
- 操作手册
- 一.简介
- 二.系统管理员
- 2.1 系统配置
- 2.1.1 如何设置认购配置
- 2.1.2 如何设置签约款项
- 2.1.3 如何设置佣金配置
- 2.1.4 如何设置资料项配置
- 2.1.5 如何设置逾期配置
- 2.2 用户管理
- 2.2.1 如何编辑角色信息
- 2.2.2 如何进行账号管理
- 三.销控人员
- 3.1 销控管理
- 3.1.1 如何制定价格
- 3.1.2 如何设置折扣
- 3.1.3 如何放盘与收盘
- 四.置业顾问
- 4.1 客户列表
- 4.1.1 如何新增客户
- 4.1.2 如何跟进客户
- 4.1.3 如何进行选房
- 4.1.4 如何进行问卷调查
- 4.1.5 如何进行预约
- 4.1.6 如何查看购房订单与预约订单
- 4.2 逾期提醒
- 4.2.1 如何查看逾期未签约的订单
- 4.2.2 如何查看逾期未缴清房款的订单
- 4.3 购房订单
- 4.3.1 如何进行换房
- 4.3.2 如何进行退房
- 4.3.3 如何进行更名/增减买受人
- 4.3.4 如何进行供款变更
- 4.3.5 如何提交合同审批表
- 4.4 认购申请
- 4.4.1 如何撤销认购
- 4.4.2 如何提交被驳回的认购
- 4.5 签约申请
- 4.5.1 如何撤销签约
- 4.5.2 如何提交被驳回的签约
- 4.6 变更申请
- 4.6.1 如何撤销变更
- 五.销售经理/主管
- 六.营销总监
- 6.3 如何认购审批
- 6.4 如何签约审批
- 6.5 如何变更审批
- 七.财务会计
- 7.1 票据管理
- 7.1.1 如何添加票据
- 7.1.2 如何查看票据明细
- 7.1.3 如何领用收据
- 7.2 收支管理
- 7.2.1 如何收房款/代收费
- 7.2.2 如何删除、作废误操作票据
- 7.2.3 如何打印收据
- 7.2.4 如何批量支出
- 7.3 票据审核
- 7.3.1 如何审核票据
- 7.3.2 如何修改票据信息
- 7.3.3 如何审核作废票据
- 7.4 转款管理
- 7.4.1 如何房间内部转款
- 7.4.2 如何换房转款
- 八.客服人员
- 8.1 客户管理
- 8.1.1 如何完善客户信息
- 8.1.2 如何查看客户购房信息
- 8.1.3 如何查询客户缴费情况
- 8.1.4 如何查看逾期款项情况
- 8.2 档案管理
- 8.2.1 如何上传电子档案
- 8.2.2 如何确定协议签署
- 8.2.3 如何跟进网签进度
- 8.3 备案管理
- 8.3.1 如何备案确权
- 8.3.2 如何进行备案
- 8.4 交房管理
- 8.4.1 如何交房确权
- 8.4.2 如何进行交房操作
- 8.4.3 如何查看交房情况
- 8.5 产权管理
- 8.5.1 如何产权确权
- 8.5.2 如何进行产权管理
- 8.5.3 如何查看产权情况
- 8.6 按揭管理
- 8.6.1 如何进行按揭操作
- 九. 收银员
- 9.1 如何领取收据
- 9.2 如何进行收支管理
- 9.3 如何进行转款
- 9.4 如何将一张收据换成多张收据
