NIUCLOUD是一款SaaS管理后台框架
多应用插件+云编译。上千名开发者、服务商正在积极拥抱开发者生态。欢迎开发者们免费入驻。一起助力发展!
广告
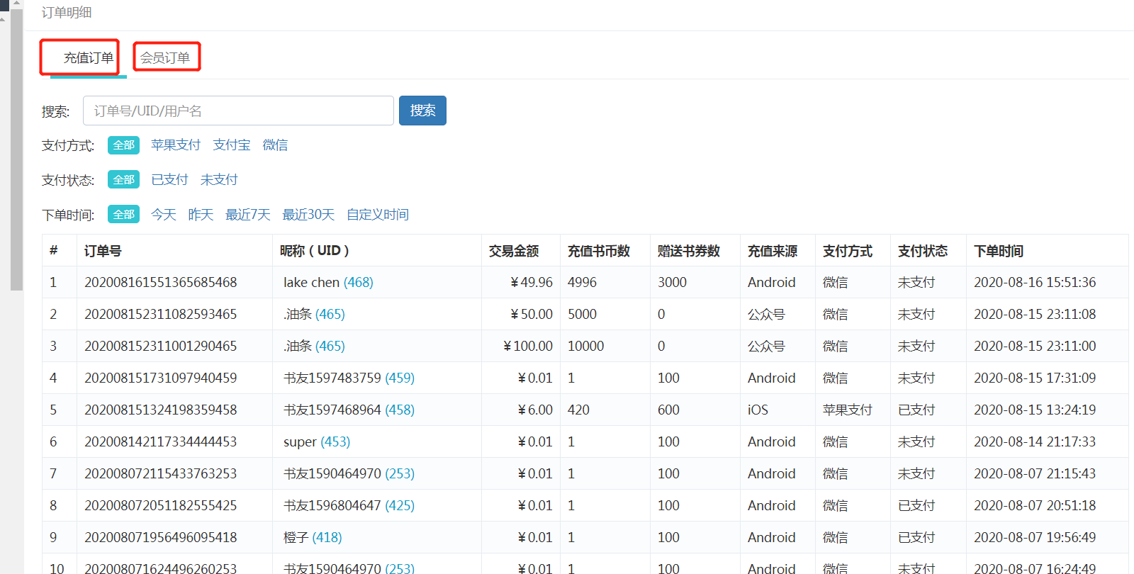
>[info]查看所有用户的充值订单详情和会员包月详情,也可以筛选指定用户 
运营列表
用户管理
用户列表
用户反馈
充值设置
充值套餐设置
会员套餐管理
数据中心
订单明细
订单统计
APP运营管理
购买折扣
消息推送
智能推送
辅助推送通道
任务列表
礼物列表
帮助反馈
启动页列表
版本控制
域名管理
APP内容管理
首页频道
首页推荐位
Banner图列表
公告列表。
重点推荐位作品
广告位。
小说中心
分类列表
小说列表
上传小说
热搜列表
限免小说列表
评论列表
漫画中心
分类列表
漫画列表
热搜列表
吐槽列表
评论列表
听书中心
分类列表
听书列表
听书上传
热搜列表
评论列表
系统管理
基础配置
app配置管理