## **创建直播间**
**位置:商户后台>营销>直播**
商户后台-创建直播间
选择直播时间,填写其他相关信息。
主播需提前通过小程序直播实名认证,否则创建直播间失败;主播昵称必须为长于等于4个字符的内容。


## **审核直播间**
**直播间有两种审核方式:**
手动审核:平台后台需手动审核;
自动审核:平台后台自动审核;
**切换审核方式**
**位置:平台后台>商户>商户列表>编辑**
开启:平台后台手动审核;关闭:自动审核


**手动审核直播间**
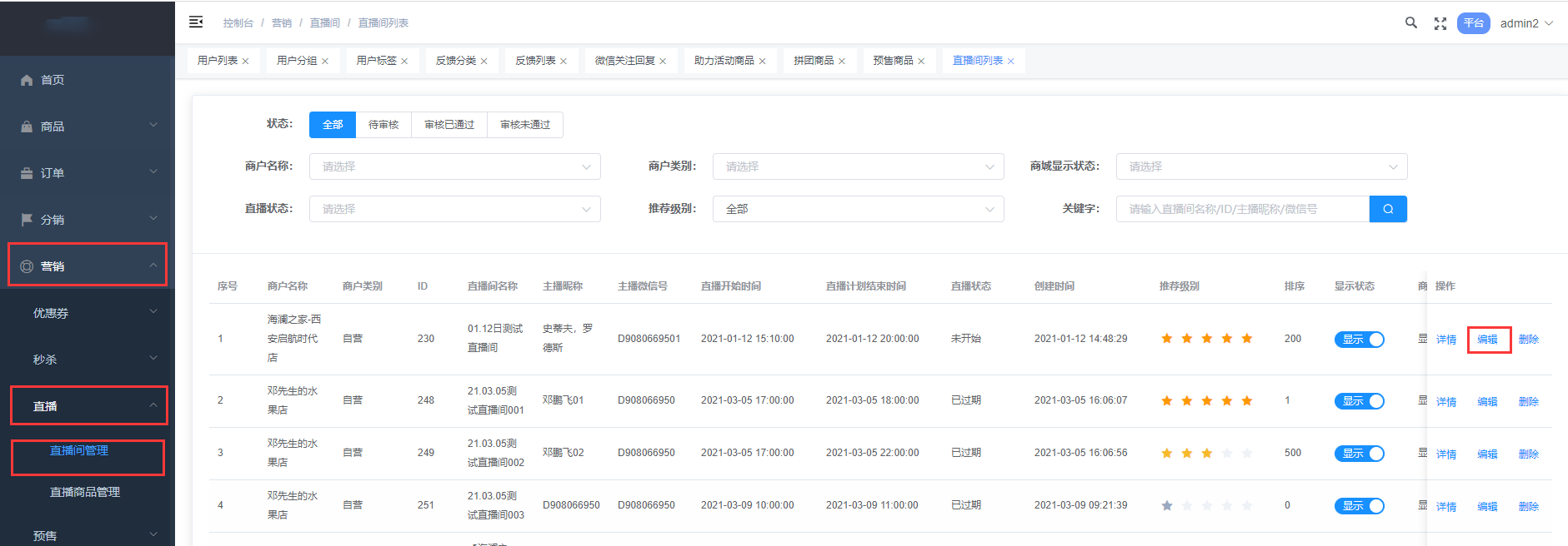
**位置:平台后台>营销>直播>直播间管理**


## **审核通过**
创建直播间时填写的手机号上会收到审核通过短信,
按照短信提示信息,主播按时开播即可。

## **审核不通过**
创建直播间时填写的手机号上会收到审核未通过短信

## **移动端直播间展示顺序设置**
\*\* 位置:平台后台>营销>直播>直播间管理\*\*
点击“编辑” - 设置直播间在移动端直播列表优先展示顺序
优先展示顺序:星级>排序>直播状态(直播状态顺序:正在进行>未开始>回放)
规则:
(1) 5星>4星>3星>2星>1星
(2) 排序是星级级别内的排序


## **后台直播间列表状态显示规则**
商户后台和平台后台 直播间列表状态展示规则
位置:商户后台>营销>直播>直播间管理>直播间列表
平台后台>营销>直播>直播间管理>直播间列表

- 商品分类
- 分类说明
- 分类管理
- 品牌分类
- 商品管理
- 发布商品
- 商品规格
- 配置说明
- 文件上传
- 移动端展示说明
- 首页
- 分类页
- 个人中心
- 热门搜索
- 分销规则
- 分销配置
- 分销员管理
- 分销规则说明
- 分销礼包
- 用户管理
- 商户用户列表
- 平台用户管理
- 用户协议
- 用户搜索记录
- 秒杀
- 秒杀规则
- 开启秒杀活动
- 直播
- 主播实名认证
- 开启直播
- 添加直播商品
- 预售
- 开启全款预售
- 开启定金预售
- 预售协议
- 助力
- 开启助力
- 查看助力活动
- 拼团
- 虚拟拼团设置
- 开启拼团
- 查看拼团活动
- 提现
- 提现规则
- 提现步骤
- 新闻资讯
- 新闻页面
- 发布资讯
- 账户管理
- 账户信息
- 账户资金
- 优惠卷
- 添加优惠券
- 发布优惠券
- 领取及使用
- 发放优惠券
- 订单管理
- 后台订单处理
- 前端订单处理
- 订单退款
- 打印订单
- 客服管理
- 添加客服
- 客服权限
- 门店自提
- 开启门店自提
- 设置核销权限
- 后台订单核销
- 商户管理
- 商户分类
- 商户入驻
- 商户列表
- 商户菜单管理
- 店铺类型
- 财务
- 财务对账
- 开启发票
- 邮费说明
- 运费设置
- 邮费组成
- 运费模板
- 物流配置
- 短信设置
- 短信账户
- 短信配置
- 短信模板
- 公告管理
- 店铺管理
- 店铺定位设置
- 店铺街入口
- 店铺活动
- 店铺基本信息设置
- 小票打印
- 小票打印机配置
- 小票打印机设置
- 付费采集商品配置
- 技术文档
- 开发规范
- 数据字典
- 目录结构
- 移动端路由
- 系统配置
- 后台表单说明
- PC端展示说明
- PC端开启
- PC端平台页面配置
- PC端店铺页面配置
- 保障服务
