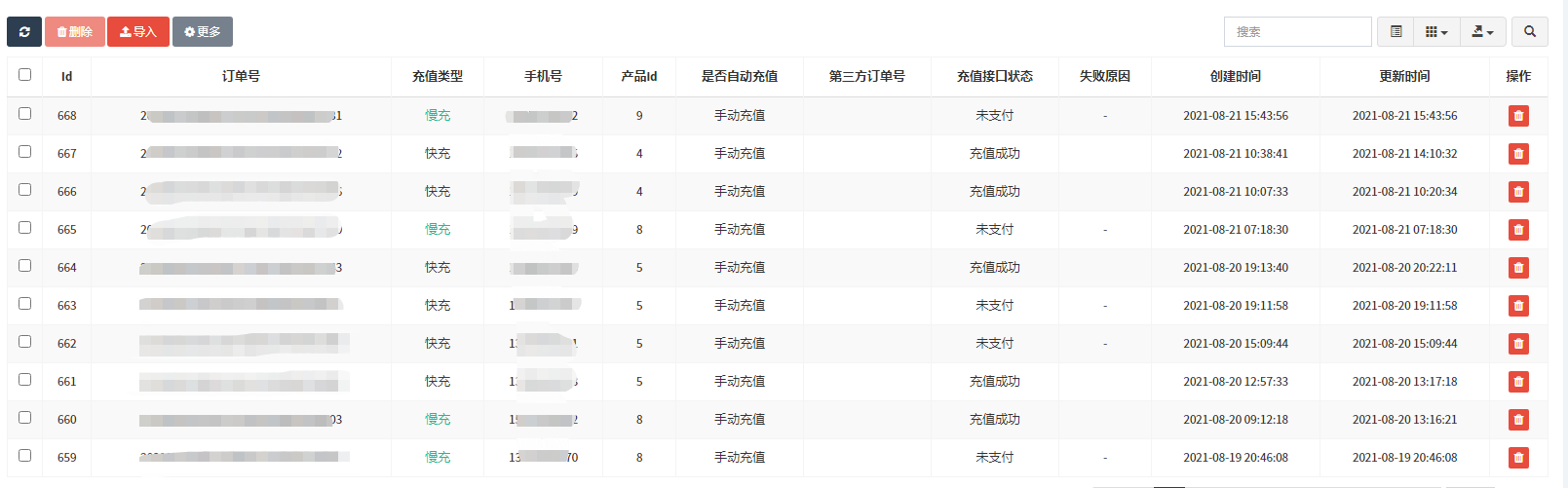
#### 可以看到用户的充值状态、充值类型以及创建此订单的时间

#### 若查询某一用户的订单是否充值成功,点右上角的搜索图标,上方会显示搜索条件,输入对应的手机号或订单号 点击提交,可以查询具体订单

- 新手必看
- 控制台
- 常规管理
- 系统配置
- 系统更新
- 视频会员直充
- 视频充值
- 视频充值订单
- 视频充值banner
- 充值分类管理
- 视频充值品牌
- 会员管理
- APP基本管理
- 滚动文字
- 总支付订单
- 分享海报
- 新闻管理
- 版本管理
- 自定义装修
- 模板装修
- 商家主页模板
- 商家主页装修
- 商家广告页装修跳转
- 用户提现
- 积分商城
- 商品管理
- 订单列表
- 广告
- 分类
- 等级制度
- 升级列表
- 升级记录
- 附近商家
- 商家列表
- 商家分类
- 首页banner
- 提现审核
- APP端商家入驻
- 商家后台教程
- 特权
- 轮播图
- 充值卡
- 分类.
- 充值产品.
- 本机话费充值
- 充值产品.
- 充值订单
- 加油管理
- 快电油站banner
- 红包管理
- 代理人管理
- 等级列表
- 升级记录.
- 礼品卡
- 代理人电子订单管理
- 代理实体卡订单
- 代理人管理.
- 提现管理
- 充值记录
- 代理人绑定关系
- 电商管理
- 产品分类
- 淘客兑换记录管理
- 用户淘客订单记录
- 模块banner
- 苹果证书购买流程
- 用户、商家、代理人的佣金分润设置
- 商家收款码配置
- 微信商户平台开通提现到银行卡
- 美团取链
- 多麦联盟取链
- 大淘客相关活动取链
- 淘宝联盟 活动取链
- 自动退款失败-手动原路退还
- 未上架应用当天唤起小程序次数用完
- 其他常见售后问题
- 1、
- 2、
- 企业微信客服APP接入方法
- 淘宝授权-9.1之前需要更换授权方式
- 淘宝授权-新客户
- 微信商户平台-设置预留金额
- 商家服务费设置用途
