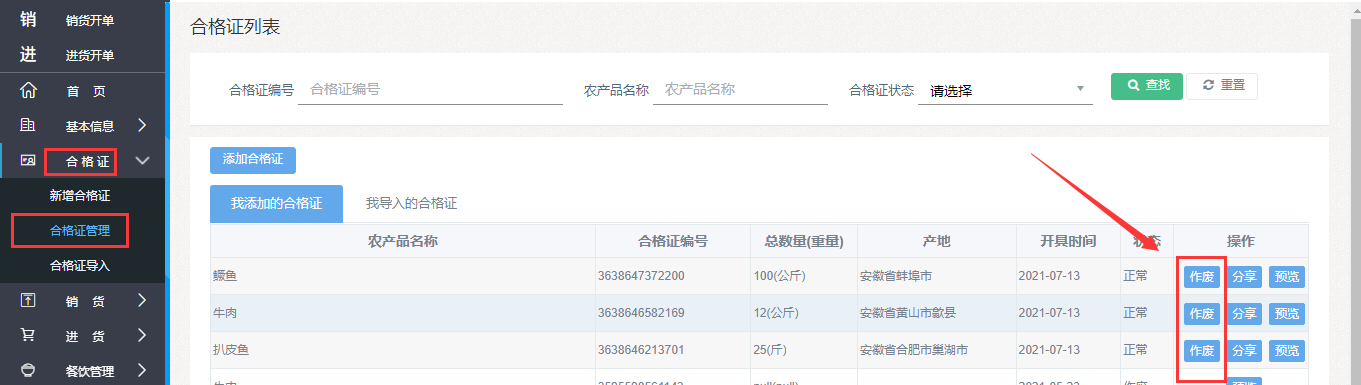
合格证已过期或不再使用时,可以将其作废
点击“合格证”—“合格证管理”—“作废”—“确定”,即可作废该合格证。

- 新手入门
- 什么是票证通?
- 票证通有哪些功能?
- 为什么要使用票证通?
- 如何使用票证通系统?
- 操作流程
- 添加原辅料和成品
- 添加商品检报
- 添加供应商和客户
- 添加仓库和从业人员
- 原料进货、生成台账
- 生产用料登记、成品入库
- 成品销售、生成台账
- 推荐使用的浏览器
- 产品功能
- 商品
- 添加原辅料信息
- 添加成品信息
- 添加商品的细节问题
- 原辅料的修改与删除
- 成品的修改与删除
- 原辅料库存管理
- 成品库存管理
- 商品明细导出
- 检测报告
- 添加检测报告的几种方式
- 检测报告的有效期(很重要!)
- 检测报告修改与停用
- 合格证
- 哪些商品要添加合格证
- 添加合格证
- 作废合格证
- 客户信息
- 客户的定义
- 如何添加客户信息
- 添加客户信息注意事项
- 客户信息修改与删除
- 客户信息导出
- 供应商信息
- 供应商的定义
- 如何添加供应商信息
- 添加供应商信息注意事项
- 供应商信息修改与删除
- 供应商信息导出
- 销货和进货
- 销货开单
- 进货开单
- 开单的一些细节问题
- 单据修改与删除
- 单据打印
- 打印方式与打印设置
- 单据作废
- 复制单据
- 分享电子单据
- 台账
- 生成台账
- 查看台账
- 导出台账
- 退货
- 退货开单
- 采购
- 采购计划(采购订单开单)
- 采购计划通知供应商
- 采购计划修改、删除
- 采购确认(采购单管理)
- 生产
- 人员管理
- 仓库管理
- 生产用料管理
- 设备和设备维护
- 仓库环境管理
- 单位信息
- 变更营业执照
- 添加、修改证件
- 修改地址信息
- 用户管理
- 新增用户
- 删除用户
- 修改用户信息
- 重置密码
- 首页看板
- 数据看板
- 风险预警
- 单位变更
- 修改密码
- 到期续费
- 发票下载
- APP下载
- 联系我们
- 在线咨询
- 退出系统
- 接口设置
- 接口文档
- 其他功能
- 部门管理
- 企业自检
- 文档管理
- 常见问题
- 注册办理类
- 什么是票证通?
- 票证通是怎么办理的?
- 注册票证通要准备什么资料?
- 为何别人分享给我的网址打不开?
- 注册类型怎么选?
- 关于商品
- 有没有快速添加商品的方法?
- 商品没有条码能添加吗?
- 商品的规格怎么填写?
- 添加商品时,没有我要的计量单位怎么办?
- 不同生产批次的商品应该怎么添加?
- 关于开单
- 已经添加了某个商品(或企业),开单时找不到怎么办?
- 开单时为何有的商品右侧有眼睛图标,有的没有?
- 开单时提示商品已过期是怎么回事?
- 开单时,怎样才能将商品的价格自动带出来?
- 单子开错了,不能修改怎么办?
- 为什么我开好的单子在客户的账号里找不到?
- 左上角的销货开单与销货单据中的“+开单”有什么区别?
- 关于检测报告
- 检测报告已经上传过了,为何打印时还是显示“未上传”?
- 关于客户和供应商
- 添加客户(供应商)时,系统提示营业执照号错误怎么办?
- 联系人怎么填,是填法人还是业务联络人员?
- 账户交接时,如何将老账户中的客户和供应商转到新账户?
- 添加客户(供应商)信息时,系统提示共享数据库没有找到输入的执照号怎么办?
- 关于库存
- 怎样使原辅料的库存保持正确?
- 怎样使成品的库存保持正确?
- 库存为什么会变成负数?
- 库存项不显示出来,是怎么回事?
- 关于打印
- 打印单据时,系统提示Clodop云打印服务未安装启动怎么办?
- 单据突然不能打印了,点击打印没有反应怎么办?
- 打印的单据显示不全怎么办?
- 打印的单据不显示二维码,不显示网格怎么办?
- 打印的网格宽度能否调整?
- 打印出来的字太小了,怎么调整?
- 怎样分享电子单据给别人?
- 开单人和联系人
- 单据上的联系人可以更改吗?
- 单据上的开单人可以更改吗?
- 账号和密码
- 忘记密码怎么操作?
- 很久不使用系统,账号和密码都忘记了怎么办?
- 登陆时显示用户名或密码不正确怎么办?
- 怎样更改登录密码?
- 怎样更改登录账号(用户名)?
- 单位信息更改
- 公司的营业执照换新的了,需要在系统上也更换吗?
- 食品经营许可证更新了,在哪里更改?
- 怎样修改本单位地址?
- 发票问题
- 怎样开发票?
- 发票多久可以开出?怎么下载?
- 缴费的时候忘了开发票,怎么补开?
- 发票开的是普票还是专票?
- 其它问题
- 点击登录没有没有任何反应,也没有任何提示,怎么办?
- 系统操作过程中,突然点不动或者点击没有反应怎么回事?
- 票证通可以在手机上操作吗?
- 票证通的数据可以和其他软件互通吗?
- 票证通在电脑上打不开了怎么办?
- 关于证件
- 票证通单据上的字母J、Y、L、S分别代表什么意思?
- 提供的票证通单据上已经有J和Y,客户还要求L也显示,应该怎么操作?
- 使用技巧
- 快速开单的方法
- 快速添加商品的方法
- 快速添加客户、供应商的方法
- 开单时如何快速选择往来单位和商品?
- 开单时如何使商品的价格自动带出来?
- 开单时如何通过商标搜索商品?
- 批量删除商品的方法
- 如何设置进货单自动确认收货?

