# 代理主动申请升级审核
## 代理主动申请升级审核
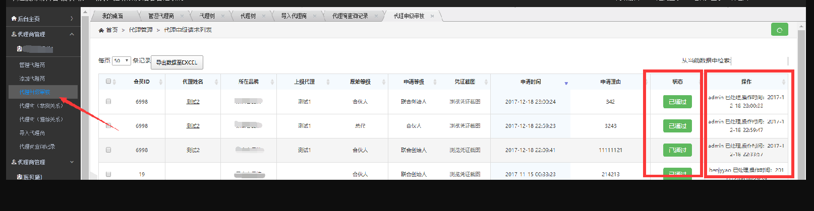
此功能用于代理通过自己的代理端提交代理升级请求信息的审核。点击确认后,代理等级将自动完成升级。

- 亿起科技微商系统文档
- 系统简介
- 系统功能概述
- 系统运行环境
- 公众号授权配置
- 公众号域名配置
- 微信通知消息模板配置
- 配置微信支付接口
- 系统信息配置
- 登录系统管理员后台
- 设置系统名称等基础信息
- 设置财务相关配置
- 设置代理邀请注册页面参数配置
- 设置微信公众号相关配置
- 设置您的品牌名称
- 设置品牌对应的等级权限
- 配置起订量、奖金等模式
- 设置配送费用和快递公司
- 添加您的产品信息
- 支付方式设置
- 代理商管理
- 代理团队管理
- 查看代理结构树形图
- 批量导入代理商信息
- 代理主动申请升级审核
- 查询代理商的查询记录
- 防伪控价管理
- 管理防伪码和出货记录
- 批量生成防伪数据印刷
- 防伪标签印刷说明
- 防伪查询记录监控
- 标签贴标注意事项
- 管理员管理
- 分组权限管理
- 系统管理员管理
- 仓库管理员管理
- 设置管理员微信通知提醒
- 订单相关操作
- 订单查看和审核
- 订单批量打印电子面单
- 如何进行批量发货和同步单号
- 处理申请退款订单
- 云仓订单管理
- 分红奖金管理
- 个人业绩分红管理
- 团队业绩分红管理
- 推荐永久返利管理
- 一次性推荐奖管理
- 财务相关操作
- 代理财务列表
- 代理充值审核
- 代理提现审核
- 财务日志记录监控
- 线下打款凭证记录
- 业绩统计功能
- 查看业界汇总
- 单品业绩分析
- 公司销量统计汇总
- 系统日志记录
- 订单操作日志查看
- 操作日志记录
- 管理员登录日志
- 代理管理系统
- 如何登录系统
- 完善个人资料
- 如何查看我的授权
- 如何邀请下级代理
- 如何注册成为代理
- 如何审核下级代理
- 查看和管理下级团队
- 如何充值预存款
- 如何向上级订货
- 下级订单审核和发货
- 订单向上调货
- 查看我的返利和奖金
- 什么是主动发货
- 前端样式装修
- 风格模板
- 微官网内容
- 素材库管理
- 积分商城
- 轮播图设置
- 积分兑换商品管理
- 兑换订单管理
- 积分记录
- 系统前端显示
- 防伪标签说明
- 防伪查询
- 授权查询
- 微信通知模板
- 仓管员操作说明
- 仓管员按订单进行扫码发货
- 主动发货-主动扫码发货给下级代理
- 常见问题
- 公司统一代发货按钮功能说明
- 平级邀请归属自己功能说明
- 登录/操作系统时,显示域名与后台配置不一致
- 保证金功能说明,如何添加保证金
- 后台审核代理时自动充值代理帐户预存款功能说明
- 系统初始的完善和测试流程
- 不可用余额说明
- 防伪标签贴标和扫码发货步骤视频说明
- 没有邀请码如何注册
- 上级如何给下级结算推荐返利或一次性推荐奖
- 防伪标签使用说明
- 为什么打开我的零售商城显示的确是其它代理的名称
- 代理审核/复审机制说明
- 订单产品拆分导出说明
- 推荐代理归还功能说明
- 积分功能说明
- 高级代理离职,下属代理该如何改变归属
- 打开导出格式文件CSV乱码解决方法
- 如何进行多品牌管理
- 如何添加申请代理入口
- 消息提醒收不到的常见问题
- 如何添加上传主图(缩略图)-上传图片详细步聚
- 上级发货模式下云仓功能逻辑说明
- 代理余额(预存款)提现说明。为什么有余额却无法提现
- 云仓管理-主动给下级增加库存
- 云仓管理-如何提货
- 云仓管理-如何订购云库存
- 永久推荐返利设置和结算说明
- 拿货关系、推荐关系与邀请关系说明
- 为什么由上级结算的返利无法由系统自动结算?
- 公司如何管理发放分红、返利和奖金
- 代理余额(预存款)审核方式说明-公司统一控制和由上级控制模式下的处理逻辑
- 如何添加腾讯视频到正文当中
- 代理中心-代理升级操作说明
- 后台设置-系统设置-产品起订量配置说明
- 后台设置-等级权限设置-起订金额设置说明
- 后台设置-等级权限设置-代理门槛说明
- 统一代发(分销)模式下云仓功能逻辑说明
- 电子面单配置
- 1、如何安装云打印代理程序
- 2、如何安装云打印机?
- 3、如何管理云打印机并设置单号源和模板
- 4、安装云打印代理程序出现“......不是有效的Win32应用程序”怎么解决?
- 5、如何查看云打印机秘钥?
- 代理操作手册
- 一、如何登陆系统
- 二、完善个人资料
- 三、如何查看我的授权
- 四、如何邀请下级代理
- 五、如何注册成为代理
- 六、如何审核下级代理
- 七、如何查看和管理下级团队
- 八、如何充值预存款
- 九、如何向上级订货
- 十、下级订单审核发货
- 十一、订单向上调货
- 十二、如何查看我的返利和奖金
