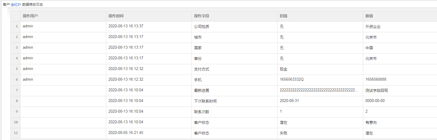
# 字段修改日志
字段修改日志是记录系统中数据修改过的痕迹,通过日志可以知道数据操作人、操作时间,操作内容等信息,方便公司管理用户随意更改数据
系统定制>字段修改日志,选择模块 勾选需要日志的字段名称,保存清除缓存即可


- 易客CRM实施手册
- 一、创建用户和部门
- 创建用户
- 新建部门
- 二、职能设置和角色设置
- 新建职能和角色
- 字段权限和字段使用
- 三、系统配置和视图设置
- 设置系统参数
- 设置公司信息
- 设置SMTP服务器
- 设置销售提成规则
- 隐藏成本价
- 报表权限
- 视图设置
- 视图(最新)
- 视图列表
- 视图类别
- 四、模块开发
- 五、业务对象(自定义字段)
- 模块权限
- 自定义字段
- 页面布局和显示区域
- 产品模块字段
- 产品标签字段
- 六、主菜单
- 七、审批流程
- 八、多仓库管理
- 九、字段规则
- 十、业务规则
- 十一、工作台设置
- 十二、字段修改日志
- 十三、公司账户
- 十四、回收站
- 十五、设置共享
- 自定义共享
- 全局共享
- 十六、货币币种
- 十七、客户池设置
- 十八、自定义记录编号
- 十九、首页的库存预警
- 二十、创建企业微信步骤
