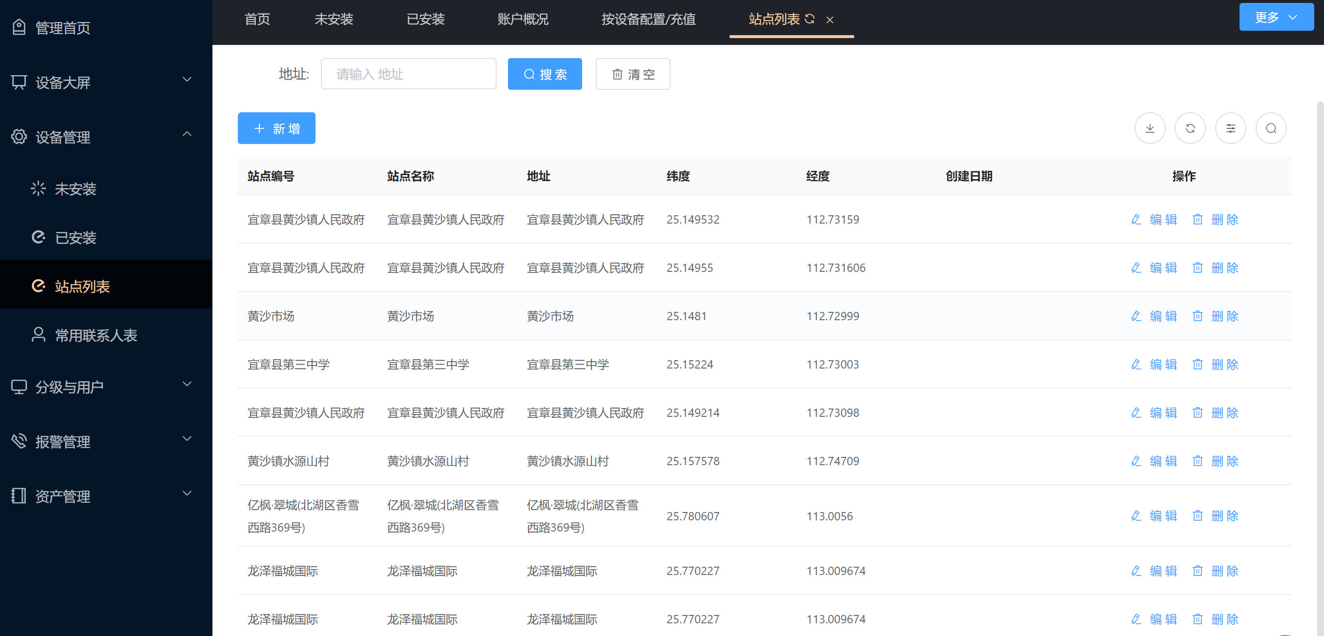
站点是安装的大区域如(一栋楼、某个街道等);列表信息显示:站点编号、站点名称、纬度,经度、站点地址、创建时间
可进行操作:增加站点、修改站点、删除站点

增加站点:填写站点编号、站点名称、站点地址、地址位置选择
(选择出现对应的维度、经度),点击提交按钮。如下图

- 智慧消防物联云维平台快速使用
- 登录管理中心
- 系统名字、Logo、密码修改
- 站点管理
- 接警联系人
- 新增设备
- 报警处理
- 下级单位管理
- 报警手机通知(短信,电话)
- 微信公众号通知
- 智慧消防物联云维平台(手机端端)快速使用
- 1 使用微信端
- 2 移动端板块说明
- 3 安装管理
- 3.1 站点管理
- 3.1.2 批量设置联系人
- 3.2 楼层管理
- 报警管理
- 4 设备列表
- 1 设备列表功能介绍
- 2 已绑定设备列表功能介绍
- 3 未绑定设备列表功能介绍
- 智慧物联网云平台操作手册
- 1、概述
- 2、平台使用流程
- 2.1.1 生产厂商
- 2.1.2 渠道公司、工程商
- 3、平台功能
- 3.1 平台访问
- 3.2 设备监控大屏
- 3.2.2 报警弹窗说明
- 3.3 系统设置
- 3.3.1 管理平台进入
- 3.3.2 管理平台退出
- 3.4 报警管理
- 3.4.1 报警查询
- 3.4.2 报警处理
- 3.5 设备管理
- 3.5.1 设备列表
- 3.5.1.1 添加设备
- 3.5.1.2 删除设备
- 3.5.1.3 设备过户
- 3.5.1.4 安装点绑定与解绑
- 3.6 安装点管理
- 3.6.1 站点管理
- 3.6.2 楼层管理
- 3.6.3 接警联系人管理
- 3.7 布撤防计划
